EVINRUDE-JOHNSON 3853679 Isolator, Relay Mounting | PalmerPower
close
close
click to zoom in
  • Guaranteed Fitment

    Always the correct part

  • In-House Experts

    We know our products

  • Boat Repair Service

    Diagnostics, Repairs, and Maintenance

  • Fast Delivery

EVINRUDE-JOHNSON 3853679 Isolator, Relay Mounting

Write a Review
$2.99
SKU:
3853679
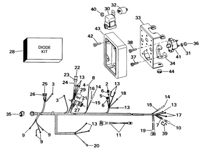
Schematic Object Key:
22

EVINRUDE-JOHNSON 3853679 Isolator, Relay Mounting

$2.99

Disclaimer: Please note that the items featured in the image (schematic diagram) are not sold as a bundled set. To facilitate your search, kindly refer to the schematic object key provided below in order to locate a specific item within the image.

EVINRUDE-JOHNSON 3853679 Isolator, Relay Mounting

Schematic Object Key : 22

Product Description: Isolator, Relay Mounting

Category: STERN DRIVE / 1998 / 4.3 / 432BPBYC 1998 / ENGINE WIRE HARNESS & BRACKET -- 2V & 4V MODELS

Disclaimer: Each item listed in the table below is available for individual purchase and is not sold as part of a package or set.

Parts List:

Key Part No. Product Name Additional_info
1 3858130 Engine cable plug
2 0511829 Ring terminal This part replaces 3852233.
3 0510818 Terminal, ring This part replaces 3852227.
4 0309437 Clip, drapeau This part replaces 3852084.
5 0204053 Borne, anneau 0,312" 7,9 mm diamètre This part replaces 3852037.
6 0314902 . cover, terminal This part replaces 3852130.
7 0511469 Terminal, pin This part replaces 3852229.
8 0914745 Cover This part replaces 3853320.
9 0512902 Ring terminal This part replaces 3852245.
10 3853565 Connector
11 3854084 Cable, distributor
12 0510818 Terminal, ring This part replaces 3852227.
13 0511829 Ring terminal This part replaces 3852233.
14 0328074 Cap, bullet This part replaces 3852181.
15 0513186 Sheath, cell This part replaces 3852248.
16 0512876 Terminal, socket This part replaces 3852244.
17 3852527 Ring terminal This part replaces 3850998.
18 0204039 10 ring terminal This part replaces 3852036.
19 3854244 Lead
20 3852527 Ring terminal
21 0513167 Terminal, receptacle This part replaces 3852247.
22 3853679 Isolator, relay mounting
23 3852260 Connector
24 3853681 Boot
25 0514035 Borne, prise This part replaces 3852254.
26 3854192 Connector, relay
27 0334191 Bracket This part replaces 3852210.
28 0583898 Diode This part replaces 3852258.
29 0586224 Relay assy. This part replaces 3857533.
30 3854138 Relay, engine control
31 0120052 . . lockwasher, solenoid screw This part replaces 3852001.
32 3850234 Isolator, relay mounting
33 3856186 Bracket, engine cable
34 3852825 Retainer, engine cable
35 3853786 Clamp instrument cable
36 0306556 Nut, leaf screw This part replaces 3852064.
37 0333677 Screw This part replaces 3852208.
38 3853620 Screw, circuit breaker
39 0512742 Retainer, connector This part replaces 3852237.
40 0313022 Locknut, double ended bolt This part replaces 3852118.
41 0987704 Circuit breaker, 50 amp This part replaces 3854283.
42 3855938 Screw, cover
43 3856764 Cover, bracket
44 0941263 Grommet, bracket

<> BRP - Evinrude/Johnson 3853679 Terminal Electric.

CLEARANCE ITEM - FINAL SALE - NO RETURNS - NO WARRANTIES OR GUARANTEES EXPRESSED OR IMPLIED - BUYING AS IS - PLEASE CONTACT US WITH ANY QUESTIONS BEFORE PURCHASE<>

Returns Policy

All returns must be authorized. Items returned prior authorization will not be accepted.

Defective new equipment may be returned for warranty repair/exchange to us within five (5) days of the shipment receipt date.  After five (5) days, returns will be handled by direct contact and in accordance with the warranty terms of the item's manufacturer.  Items that have malfunctioned due to mishandling, electrical overload, etc., will be subject to a repair charge. 

Non-Defective new equipment will be authorized for return within five (5) days of the shipment receipt date if the equipment is still in new, re-sellable condition with the original manual(s), accessories, packing material and carton. We reserve the right to reject returns in which there is no original packaging, missing accessories, damage or visible signs of usage of the item.  A restocking fee of up to 25% of purchase price may apply.  Special orders and dangerous goods are non-returnable.

**There's a 20% Restocking Fee on All Returned Palmgren Products in Original Packaging

To get your RMA, simply call (800) 364-4637 for a return authorization number or email sales@palmerpower.com .

(Do not write anything on the manufacturer's original package or use as a shipping carton. Include all accessories, manuals and warranties.) Please include a copy of the packing list or invoice with a reason for the return. Your return authorization number is valid for thirty days.

To check the status of your return, please email us at sales@palmerpower.com. Please be sure to include your RMA number. For more information please check our FAQ page.

Shipping

We can ship to virtually any address in the world. Note that there are restrictions on some products, and some products cannot be shipped to international destinations.

When you place an order, we will estimate shipping and delivery dates for you based on the availability of your items and the shipping options you choose. Depending on the shipping provider you choose, shipping date estimates may appear on the shipping quotes page.

Please also note that the shipping rates for many items we sell are weight-based. The weight of any such item can be found on its detail page. To reflect the policies of the shipping companies we use, all weights will be rounded up to the next full pound.

Boat Services & Repairs in Houston

We will service your boat whether you bought it from us or not. Our award-winning boat service department has a full-time staff of seasoned, factory-certified technicians dedicated to ensuring that your boat runs well for years to come. Our team is trained to correctly diagnose issues, advise you of any developing problems, and address any unique service issues your boat may require. Whether you need complex engine work and repairs, canvas and upholstery, boat tune Up, electronics installation or repair, or boat detailing, our technicians will work quickly to keep you out of the shop and on the water. Not only does our service department provide the highest quality service, we also have a large parts department for the do-it-yourself types. Ask about our inventory of parts and aftermarket additions to make your own repairs or upgrades.

Learn More

boat repair service boat Sterndrive repair

Frequently Asked Questions

  • How do I request a quote?
    To request a quote for pricing on any Palmer Power's products, please see our request a quote page. Fill out and submit our quote form and one of our representatives will contact you when your quote is ready.
  • Do you have any Minimum Order Restriction?
    Palmer Power Does not have any Minimum Order Restriction.
  • Will my order be subject to sales tax?
    Estimated state sales tax will appear within your shopping cart for all shipments within the United states unless a signed official state tax exemption certificate is furnished to Palmer Power.
  • How do I check my Order Status?
    To check the status of an online order, email sales@palmerpower.com. Please be sure to include your order number.
  • How do I Return items?

    All returns must be authorized. Items returned prior authorization will not be accepted. International customers must ship any returns to us freight and duty prepaid. Return freight charges for International shipments will be the responsibility of the customer.

    Defective new equipment may be returned for warranty repair/exchange to us within five (5) days of the shipment receipt date. After five (5) days, returns will be handled by direct contact and in accordance with the warranty terms of the item's manufacturer. Items that have malfunctioned due to mishandling, electrical overload, etc., will be subject to a repair charge.

    Non-Defective new equipment will be authorized for return within five (5) days of the shipment receipt date if the equipment is still in new, re-sellable condition with the original manual(s), accessories, packing material and carton. We reserve the right to reject returns in which there is no original packaging, missing accessories, damage or visible signs of usage of the item. A restocking fee of up to 25% of purchase price may apply. Special orders and dangerous goods are non-returnable.

    (Do not write anything on the manufacturer's original package or use as a shipping carton. Include all accessories, manuals and warranties.) Please include a copy of the packing list or invoice with a reason for the return. Your return authorization number is valid for thirty days.

  • What payment options do I have?

    Palmer Power accepts a variety of payment options for your convenience. For prepayment, we accept all major credit cards (Visa, MasterCard, Discover and American Express), Purchase Orders, and international wire transfers. We also offer credit terms to existing customers.

Fast Delivery
Dealer Program
Secure Shopping
30-Day Free Returns