EVINRUDE-JOHNSON 5040223 Lower Unit Gasket Set | PalmerPower
close
close
click to zoom in
  • Guaranteed Fitment

    Always the correct part

  • In-House Experts

    We know our products

  • Boat Repair Service

    Diagnostics, Repairs, and Maintenance

  • Fast Delivery

EVINRUDE-JOHNSON 5040223 Lower Unit Gasket Set

Write a Review
$44.49
SKU:
5040223
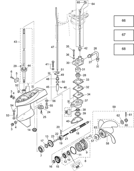
Schematic Object Key:
68

EVINRUDE-JOHNSON 5040223 Lower Unit Gasket Set

$44.49

Disclaimer: Please note that the items featured in the image (schematic diagram) are not sold as a bundled set. To facilitate your search, kindly refer to the schematic object key provided below in order to locate a specific item within the image.

EVINRUDE-JOHNSON 5040223 Lower Unit Gasket Set

Schematic Object Key : 68

Product Description: Lower Unit Gasket Set

Category: EVINRUDE / AA Models / 4 PORTABLE / B4RL4AAA / 17-1_GEARCASE

Disclaimer: Each item listed in the table below is available for individual purchase and is not sold as part of a package or set.

Parts List:

Key Part No. Product Name Additional_info
5040231 Gearcase, complete 15 in. models
5040232 Gearcase, complete 20 in. models
1 5040226 Gearcase housing 15 in. models
2 5040145 Roller bearing 14 20 12
3 5040029 Plug
4 5040030 Gasket 8.1 15 1
5 5041015 Anode
6 5041524 Bolt
7 5041703 Ball bearing 6004
8 5040233 Propeller shaft housing assembly
9 5040227 Propeller shaft housing
10 5040143 Oil seal 15 28 10
11 5040061 O ring 3.2 47
12 5041702 Ball bearing 6002
13 5040155 Bevel gear ass'y a
14 5040158 Bevel gear b
15 5040159 Bevel gear assembly c
16 5040160 Washer 15.2 19 1.9
17 5040156 Shim 21 28 0.1
17 5040156 Shim 21 28 0.1 This part replaces 5040157.
18 5040166 Propeller shaft
19 5040007 Clutch
20 5040008 Pin 3.5 28
21 5040236 Spring clutch
22 5040167 Spring retainer clutch
23 5040168 Push rod clutch
24 5040144 Water strainer
25 5041638 Screw
26 5040184 Water pipe lower
27 5040185 Seal rubber water pipe lower
28 5040180 Water pump impeller
29 5040181 Key pump impeller
30 5040176 Pump case upper
31 5040174 Pump case liner
32 5040182 Water pump guide plate
33 5040178 Pump case gasket
34 5040183 Guide plate gasket
35 5041584 Bolt
36 5041661 Washer
37 5040177 Pump case lower
38 5040147 Oil seal 10 24 8
39 5040161 Shim 28 34.8 0.1
39 5040161 Shim 28 34.8 0.1 This part replaces 5040162.
40 5040179 Pump case gasket lower
41 5041534 Bolt
42 5040175 Water pipe seal lower
43 5040169 Drive shaft 15 in. models
43 5040170 Drive shaft 20 in. models
43 5040171 Drive shaft 25 in. models
44 5041705 Ball bearing 6300
45 5040191 Clutch cam
46 5041691 Spring pin 3 10
47 5040192 Cam rod 15 in. models
47 5040193 Cam rod 20 in. models
47 5040194 Cam rod 25 in. models
48 5040196 Cam rod bushing
49 5040195 O ring a 2.5 4.9
50 5040036 O ring 2.4 15.4
51 5040197 Stopper com rod bushing
52 Not used on BRP engine models
53 5041584 Bolt
54 5041668 Washer
55 5041587 Bolt
56 5041669 Washer
57 5041559 Bolt
58 0766540 Propeller aluminum 3 blade, 7.8 in. diameter x 7 in pitch
58 0766541 Propeller aluminum 3 blade, 7.8 in. diameter x 8 in pitch
58 0766542 Propeller aluminum 3 blade, 7.8 in. diameter x 9 in pitch
59 5041052 Propeller hardware kit
60 5040164 Propeller nut
61 5041695 Split pin 3 18
62 5040165 Washer 10.5 28 2
63 5040497 Bushing, thrust
64 5040186 Water pipe 15 in. models
64 5040187 Water pipe 20 in. models
64 5040188 Water pipe 25 in. models
65 5040189 Grommet water pipe
66 5040224 Water pump repair kit
67 5040190 Water pump kit chrome plated
68 5040223 Lower unit gasket set

Returns Policy

All returns must be authorized. Items returned prior authorization will not be accepted.

Defective new equipment may be returned for warranty repair/exchange to us within five (5) days of the shipment receipt date.  After five (5) days, returns will be handled by direct contact and in accordance with the warranty terms of the item's manufacturer.  Items that have malfunctioned due to mishandling, electrical overload, etc., will be subject to a repair charge. 

Non-Defective new equipment will be authorized for return within five (5) days of the shipment receipt date if the equipment is still in new, re-sellable condition with the original manual(s), accessories, packing material and carton. We reserve the right to reject returns in which there is no original packaging, missing accessories, damage or visible signs of usage of the item.  A restocking fee of up to 25% of purchase price may apply.  Special orders and dangerous goods are non-returnable.

**There's a 20% Restocking Fee on All Returned Palmgren Products in Original Packaging

To get your RMA, simply call (800) 364-4637 for a return authorization number or email sales@palmerpower.com .

(Do not write anything on the manufacturer's original package or use as a shipping carton. Include all accessories, manuals and warranties.) Please include a copy of the packing list or invoice with a reason for the return. Your return authorization number is valid for thirty days.

To check the status of your return, please email us at sales@palmerpower.com. Please be sure to include your RMA number. For more information please check our FAQ page.

Shipping

We can ship to virtually any address in the world. Note that there are restrictions on some products, and some products cannot be shipped to international destinations.

When you place an order, we will estimate shipping and delivery dates for you based on the availability of your items and the shipping options you choose. Depending on the shipping provider you choose, shipping date estimates may appear on the shipping quotes page.

Please also note that the shipping rates for many items we sell are weight-based. The weight of any such item can be found on its detail page. To reflect the policies of the shipping companies we use, all weights will be rounded up to the next full pound.

Boat Services & Repairs in Houston

We will service your boat whether you bought it from us or not. Our award-winning boat service department has a full-time staff of seasoned, factory-certified technicians dedicated to ensuring that your boat runs well for years to come. Our team is trained to correctly diagnose issues, advise you of any developing problems, and address any unique service issues your boat may require. Whether you need complex engine work and repairs, canvas and upholstery, boat tune Up, electronics installation or repair, or boat detailing, our technicians will work quickly to keep you out of the shop and on the water. Not only does our service department provide the highest quality service, we also have a large parts department for the do-it-yourself types. Ask about our inventory of parts and aftermarket additions to make your own repairs or upgrades.

Learn More

boat repair service boat Sterndrive repair

Frequently Asked Questions

  • How do I request a quote?
    To request a quote for pricing on any Palmer Power's products, please see our request a quote page. Fill out and submit our quote form and one of our representatives will contact you when your quote is ready.
  • Do you have any Minimum Order Restriction?
    Palmer Power Does not have any Minimum Order Restriction.
  • Will my order be subject to sales tax?
    Estimated state sales tax will appear within your shopping cart for all shipments within the United states unless a signed official state tax exemption certificate is furnished to Palmer Power.
  • How do I check my Order Status?
    To check the status of an online order, email sales@palmerpower.com. Please be sure to include your order number.
  • How do I Return items?

    All returns must be authorized. Items returned prior authorization will not be accepted. International customers must ship any returns to us freight and duty prepaid. Return freight charges for International shipments will be the responsibility of the customer.

    Defective new equipment may be returned for warranty repair/exchange to us within five (5) days of the shipment receipt date. After five (5) days, returns will be handled by direct contact and in accordance with the warranty terms of the item's manufacturer. Items that have malfunctioned due to mishandling, electrical overload, etc., will be subject to a repair charge.

    Non-Defective new equipment will be authorized for return within five (5) days of the shipment receipt date if the equipment is still in new, re-sellable condition with the original manual(s), accessories, packing material and carton. We reserve the right to reject returns in which there is no original packaging, missing accessories, damage or visible signs of usage of the item. A restocking fee of up to 25% of purchase price may apply. Special orders and dangerous goods are non-returnable.

    (Do not write anything on the manufacturer's original package or use as a shipping carton. Include all accessories, manuals and warranties.) Please include a copy of the packing list or invoice with a reason for the return. Your return authorization number is valid for thirty days.

  • What payment options do I have?

    Palmer Power accepts a variety of payment options for your convenience. For prepayment, we accept all major credit cards (Visa, MasterCard, Discover and American Express), Purchase Orders, and international wire transfers. We also offer credit terms to existing customers.

Fast Delivery
Dealer Program
Secure Shopping
30-Day Free Returns