MERCURY 8M0034435 Stud | PalmerPower
close
close
click to zoom in
  • Guaranteed Fitment

    Always the correct part

  • In-House Experts

    We know our products

  • Boat Repair Service

    Diagnostics, Repairs, and Maintenance

  • Fast Delivery

MERCURY 8M0034435 Stud (1")

Write a Review
$10.60
SKU:
8M0034435
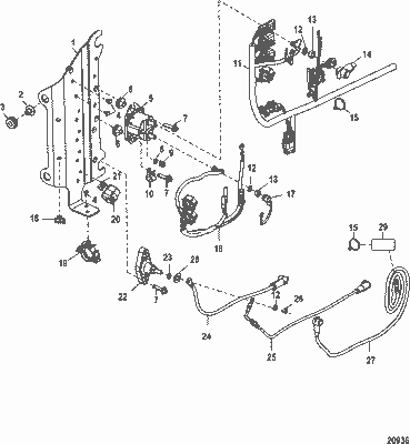
Schematic Object Key:
21

MERCURY 8M0034435 Stud (1")

$10.60

Disclaimer: Please note that the items featured in the image (schematic diagram) are not sold as a bundled set. To facilitate your search, kindly refer to the schematic object key provided below in order to locate a specific item within the image.

MERCURY 8M0034435 Stud (1")

Schematic Object Key : 21

Product Description : MERCURY 8M0034435 Stud (1")

Product Category : V-150-XR-2/ 4868998 THRU 0A904645/ Cylinder Block And End Caps

Disclaimer: Each item listed in the table below is available for individual purchase and is not sold as part of a package or set.

Other Components:

Key Name Part No.
1 CYLINDER BLOCK 8133A 3
1 CYLINDER BLOCK 8711T19
2 STUD (1-7/8") 76175
3 STUD 670654
3 STUD 8M0034454
4 PIN, Dowel 43044
5 PIN (BEARING RACE) 8M0036405
6 GASKET 11338
7 COVER, STARTER MOTOR (UPPER) 8M0088723
8 SCREW, (.312-18 x 1.50) 73657
9 LOCKWASHER, (.312) 26993
10 COVER, STARTER MOTOR (LOWER) 76867
11 SCREW, (.312-18 x 2) 815549
11A BUSHING 99448
12 SCREW, (.375-16 x 3.250), CRANKCASE TO CYLINDER BLOCK 66717
12 SCREW, (.312-18 x 1.250), CRANKCASE TO CYLINDER BLOCK 74824
13 END CAP ASSEMBLY (UPPER) 8454T1
14 O-RING, (2.800 x .103) 54029
14 O-RING 67206
15 BEARING, Roller 74248T
16 SEAL 41953
17 SCREW AND LOCKWASHER, (.312-18 x 1.00) 30225
18 SCREW, (.190-24 x .190) 24220
19 PLUG, (.500-14) (WATER JACKET) 38407
20 STUD (1-7/8") 15094
21 STUD (1") 8M0034435
22 SPACER 67269
23 WASHER 49221
24 WASHER 22887
25 NUT 816874
26 BRACKET, FLYWHEEL COVER 422482
27 SCREW, (.250-20 x .750) 49668
28 END CAP ASSEMBLY (LOWER) 7809T1
29 O-RING, (3.237 x .103) 62700
29 O-RING, (3.489 x .070) 67207
30 SEAL 41953
31 SCREW, (.250-20 x .750) 28636
32 LOCKWASHER, (.250) Stainless Steel 26992
33 SCREW, (.250-20 x 2.125) 64022
34 NUT, (.250-20) 64015
35 CAP, Nylon 26852
-- RESTRICTOR 66517
36 PLUG, (.250-18), CRANKCASE 73379
37 PLUG 43453T
38 O-RING, (.489 x .070), CRANKCASE PLUG 32509
39 SCREW, (#10-32 x .440), PLUG TO CRANKCASE 41506
- GASKET SET 90484A88
- GASKET SET 79583A81
- No Longer Available, Gasket Set NLA
- POWERHEAD ASSEMBLY 41288A81
- POWERHEAD ASSEMBLY 41282T88
1 CYLINDER BLOCK 8133A 3
1 CYLINDER BLOCK 8711T19
2 STUD (1-7/8") 76175
3 STUD 670654
3 STUD 8M0034454
4 PIN, Dowel 43044
5 PIN (BEARING RACE) 8M0036405
6 GASKET 11338
7 COVER, STARTER MOTOR (UPPER) 8M0088723
8 SCREW, (.312-18 x 1.50) 73657
9 LOCKWASHER, (.312) 26993
10 COVER, STARTER MOTOR (LOWER) 76867
11 SCREW, (.312-18 x 2) 815549
11A BUSHING 99448
12 SCREW, (.375-16 x 3.250), CRANKCASE TO CYLINDER BLOCK 66717
12 SCREW, (.312-18 x 1.250), CRANKCASE TO CYLINDER BLOCK 74824
13 END CAP ASSEMBLY (UPPER) 8454T1
14 O-RING, (2.800 x .103) 54029
14 O-RING 67206
15 BEARING, Roller 74248T
16 SEAL 41953
17 SCREW AND LOCKWASHER, (.312-18 x 1.00) 30225
18 SCREW, (.190-24 x .190) 24220
19 PLUG, (.500-14) (WATER JACKET) 38407
20 STUD (1-7/8") 15094
21 STUD (1") 8M0034435
22 SPACER 67269
23 WASHER 49221
24 WASHER 22887
25 NUT 816874
26 BRACKET, FLYWHEEL COVER 422482
27 SCREW, (.250-20 x .750) 49668
28 END CAP ASSEMBLY (LOWER) 7809T1
29 O-RING, (3.237 x .103) 62700
29 O-RING, (3.489 x .070) 67207
30 SEAL 41953
31 SCREW, (.250-20 x .750) 28636
32 LOCKWASHER, (.250) Stainless Steel 26992
33 SCREW, (.250-20 x 2.125) 64022
34 NUT, (.250-20) 64015
35 CAP, Nylon 26852
-- RESTRICTOR 66517
36 PLUG, (.250-18), CRANKCASE 73379
37 PLUG 43453T
38 O-RING, (.489 x .070), CRANKCASE PLUG 32509
39 SCREW, (#10-32 x .440), PLUG TO CRANKCASE 41506
- GASKET SET 90484A88
- GASKET SET 79583A81
- No Longer Available, Gasket Set NLA
- POWERHEAD ASSEMBLY 41288A81
- POWERHEAD ASSEMBLY 41282T88



Quick Overview

STUD 16

SKU : 8M0034435

PRE: MER

BRAND: MERCURY

COMPANY: Mercury/MerCruiser/Mariner/Force

UPC: 745061113794

Returns Policy

All returns must be authorized. Items returned prior authorization will not be accepted.

Defective new equipment may be returned for warranty repair/exchange to us within five (5) days of the shipment receipt date.  After five (5) days, returns will be handled by direct contact and in accordance with the warranty terms of the item's manufacturer.  Items that have malfunctioned due to mishandling, electrical overload, etc., will be subject to a repair charge. 

Non-Defective new equipment will be authorized for return within five (5) days of the shipment receipt date if the equipment is still in new, re-sellable condition with the original manual(s), accessories, packing material and carton. We reserve the right to reject returns in which there is no original packaging, missing accessories, damage or visible signs of usage of the item.  A restocking fee of up to 25% of purchase price may apply.  Special orders and dangerous goods are non-returnable.

**There's a 20% Restocking Fee on All Returned Palmgren Products in Original Packaging

To get your RMA, simply call (800) 364-4637 for a return authorization number or email sales@palmerpower.com .

(Do not write anything on the manufacturer's original package or use as a shipping carton. Include all accessories, manuals and warranties.) Please include a copy of the packing list or invoice with a reason for the return. Your return authorization number is valid for thirty days.

To check the status of your return, please email us at sales@palmerpower.com. Please be sure to include your RMA number. For more information please check our FAQ page.

Shipping

We can ship to virtually any address in the world. Note that there are restrictions on some products, and some products cannot be shipped to international destinations.

When you place an order, we will estimate shipping and delivery dates for you based on the availability of your items and the shipping options you choose. Depending on the shipping provider you choose, shipping date estimates may appear on the shipping quotes page.

Please also note that the shipping rates for many items we sell are weight-based. The weight of any such item can be found on its detail page. To reflect the policies of the shipping companies we use, all weights will be rounded up to the next full pound.

Boat Services & Repairs in Houston

We will service your boat whether you bought it from us or not. Our award-winning boat service department has a full-time staff of seasoned, factory-certified technicians dedicated to ensuring that your boat runs well for years to come. Our team is trained to correctly diagnose issues, advise you of any developing problems, and address any unique service issues your boat may require. Whether you need complex engine work and repairs, canvas and upholstery, boat tune Up, electronics installation or repair, or boat detailing, our technicians will work quickly to keep you out of the shop and on the water. Not only does our service department provide the highest quality service, we also have a large parts department for the do-it-yourself types. Ask about our inventory of parts and aftermarket additions to make your own repairs or upgrades.

Learn More

boat repair service boat Sterndrive repair

Frequently Asked Questions

  • How do I request a quote?
    To request a quote for pricing on any Palmer Power's products, please see our request a quote page. Fill out and submit our quote form and one of our representatives will contact you when your quote is ready.
  • Do you have any Minimum Order Restriction?
    Palmer Power Does not have any Minimum Order Restriction.
  • Will my order be subject to sales tax?
    Estimated state sales tax will appear within your shopping cart for all shipments within the United states unless a signed official state tax exemption certificate is furnished to Palmer Power.
  • How do I check my Order Status?
    To check the status of an online order, email sales@palmerpower.com. Please be sure to include your order number.
  • How do I Return items?

    All returns must be authorized. Items returned prior authorization will not be accepted. International customers must ship any returns to us freight and duty prepaid. Return freight charges for International shipments will be the responsibility of the customer.

    Defective new equipment may be returned for warranty repair/exchange to us within five (5) days of the shipment receipt date. After five (5) days, returns will be handled by direct contact and in accordance with the warranty terms of the item's manufacturer. Items that have malfunctioned due to mishandling, electrical overload, etc., will be subject to a repair charge.

    Non-Defective new equipment will be authorized for return within five (5) days of the shipment receipt date if the equipment is still in new, re-sellable condition with the original manual(s), accessories, packing material and carton. We reserve the right to reject returns in which there is no original packaging, missing accessories, damage or visible signs of usage of the item. A restocking fee of up to 25% of purchase price may apply. Special orders and dangerous goods are non-returnable.

    (Do not write anything on the manufacturer's original package or use as a shipping carton. Include all accessories, manuals and warranties.) Please include a copy of the packing list or invoice with a reason for the return. Your return authorization number is valid for thirty days.

  • What payment options do I have?

    Palmer Power accepts a variety of payment options for your convenience. For prepayment, we accept all major credit cards (Visa, MasterCard, Discover and American Express), Purchase Orders, and international wire transfers. We also offer credit terms to existing customers.

Fast Delivery
Dealer Program
Secure Shopping
30-Day Free Returns