Quick view YANMAR YANMAR 120324-07220 Label, Caution Compare $23.71 Disclaimer: Please note that the items featured in the image (schematic diagram) are not sold as a bundled set. To facilitate your search, kindly refer to the schematic object key provided below in... Add to Cart Add to Cart Add to Wish List Add to My Wish List Create New Wish List
Quick view YANMAR YANMAR 120324-07240 Label, Lifter Danger Compare $10.04 Disclaimer: Please note that the items featured in the image (schematic diagram) are not sold as a bundled set. To facilitate your search, kindly refer to the schematic object key provided below in... Add to Cart Add to Cart Add to Wish List Add to My Wish List Create New Wish List
Quick view YANMAR YANMAR 120324-07410 Label Compare $18.52 Disclaimer: Please note that the items featured in the image (schematic diagram) are not sold as a bundled set. To facilitate your search, kindly refer to the schematic object key provided below in... Add to Cart Add to Cart Add to Wish List Add to My Wish List Create New Wish List
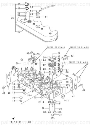
Quick view YANMAR YANMAR 120324-11120 Spring, Valve Compare $29.91 Disclaimer: Please note that the items featured in the image (schematic diagram) are not sold as a bundled set. To facilitate your search, kindly refer to the schematic object key provided below in... Add to Cart Add to Cart Add to Wish List Add to My Wish List Create New Wish List
Quick view YANMAR YANMAR 120324-11181 Rotator, Valve Compare $421.96 Disclaimer: Please note that the items featured in the image (schematic diagram) are not sold as a bundled set. To facilitate your search, kindly refer to the schematic object key provided below in... Add to Cart Add to Cart Add to Wish List Add to My Wish List Create New Wish List
Quick view YANMAR YANMAR 120324-11500 Bridge Assy, Valve Compare $440.95 Disclaimer: Please note that the items featured in the image (schematic diagram) are not sold as a bundled set. To facilitate your search, kindly refer to the schematic object key provided below in... Add to Cart Add to Cart Add to Wish List Add to My Wish List Create New Wish List
Quick view YANMAR YANMAR 120324-11550 Seat, Bridge Compare $34.60 Disclaimer: Please note that the items featured in the image (schematic diagram) are not sold as a bundled set. To facilitate your search, kindly refer to the schematic object key provided below in... Add to Cart Add to Cart Add to Wish List Add to My Wish List Create New Wish List
Quick view YANMAR YANMAR 120324-11900 Insulator Compare $39.26 Disclaimer: Please note that the items featured in the image (schematic diagram) are not sold as a bundled set. To facilitate your search, kindly refer to the schematic object key provided below in... Add to Cart Add to Cart Add to Wish List Add to My Wish List Create New Wish List
Quick view YANMAR YANMAR 120324-11910 Gasket, Nozzle Compare $14.22 Disclaimer: Please note that the items featured in the image (schematic diagram) are not sold as a bundled set. To facilitate your search, kindly refer to the schematic object key provided below in... Add to Cart Add to Cart Add to Wish List Add to My Wish List Create New Wish List
Quick view YANMAR YANMAR 120324-14010 Camshaft Compare $1,566.57 Disclaimer: Please note that the items featured in the image (schematic diagram) are not sold as a bundled set. To facilitate your search, kindly refer to the schematic object key provided below in... Add to Cart Add to Cart Add to Wish List Add to My Wish List Create New Wish List
Quick view YANMAR YANMAR 120324-14400 Rod, Push Compare $61.64 Disclaimer: Please note that the items featured in the image (schematic diagram) are not sold as a bundled set. To facilitate your search, kindly refer to the schematic object key provided below in... Add to Cart Add to Cart Add to Wish List Add to My Wish List Create New Wish List
Quick view YANMAR YANMAR 120324-21100 Crankshaft Assy Compare $9,444.75 Disclaimer: Please note that the items featured in the image (schematic diagram) are not sold as a bundled set. To facilitate your search, kindly refer to the schematic object key provided below in... Add to Cart Add to Cart Add to Wish List Add to My Wish List Create New Wish List