EVINRUDE-JOHNSON 326302 Start Button, Inner | PalmerPower
close
close
click to zoom in
  • Guaranteed Fitment

    Always the correct part

  • In-House Experts

    We know our products

  • Boat Repair Service

    Diagnostics, Repairs, and Maintenance

  • Fast Delivery

EVINRUDE-JOHNSON 326302 Start Button, Inner

Write a Review
$13.49
SKU:
326302
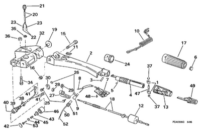
Schematic Object Key:
56

EVINRUDE-JOHNSON 326302 Start Button, Inner

$13.49

Disclaimer: Please note that the items featured in the image (schematic diagram) are not sold as a bundled set. To facilitate your search, kindly refer to the schematic object key provided below in order to locate a specific item within the image.

EVINRUDE-JOHNSON 326302 Start Button, Inner

Schematic Object Key : 56

Replacement: This part (326302) replaces 0324968.

Product Description: Start Button, Inner

Category: JOHNSON / 1980 / 7.5 / J8RLCSS 1980 / EXHAUST HOUSING

Disclaimer: Each item listed in the table below is available for individual purchase and is not sold as part of a package or set.

Parts List:

Key Part No. Product Name Additional_info
1 0431969 Exhaust housing assy. This part replaces 0323917.
1 0431967 Exhaust housing assy. This part replaces 0324606.
2 0333676 Screw, cover to gearcase This part replaces 0325095.
3 0325115 Screw
4 0324596 Bracket, lower mount, port
5 0324597 Bracket, lower mount, stbd.
6 0397702 Handle, gearshift This part replaces 0389569.
7 0551113 Ressort de friction de direction
8 0308742 Screw, crankcase to cylinder
9 0303191 "o" ring, lever shaft
10 0324608 Gear, shift, shaft
11 0327794 Screw, base to carburetor This part replaces 0323044.
12 0552938 Locking nut, 3 8 x 24
13 0309335 Washer
14 0302051 Spring tilting bolt
15 0329910 Stern bracket assy., stbd. This part replaces 0389567.
16 0433675 Clamp scr. hand. assy. This part replaces 0388347.
17 0337017 Plate, swivel This part replaces 0307561.
18 0321922 Screw, shoulder
19 0304278 Washer
20 0202021 Spring, link to shallow water drive
21 0301983 Conicak washer,stern brkt
22 0901889 Screw
23 0432453 Knob tilt pin assy. This part replaces 0389835.
24 0329909 Stern brkt. assy., port This part replaces 0389566.
25 0326134 Bolt, tilting
25 0326134 Bolt, tilting This part replaces 0304277.
26 0324588 Link , reverse lock arm
27 0324582 Pin, link locking lever
28 0305650 Cotter pin
29 0324580 Link, reverse lock
30 0324581 Lever, reverse lock
31 0392319 Friction plate, pad bushing This part replaces 0324574.
32 0324576 Washer, thrust, seal pivot tube
33 0392319 Friction plate, pad bushing This part replaces 0324575.
34 0434024 Swivel bracket assy This part replaces 0324572.
35 0334360 Bushing, lower, swivel bracket This part replaces 0324573.
36 0554545 "o" ring, small
37 0313607 Lube fitting
38 0324603 Screw, cover to base
39 0394059 Steering bracket This part replaces 0389568.
0391686 0391686 Steering handle assy.
40 0324683 Pin, cable to rollers
41 0397003 Throttle cable assy This part replaces 0389987.
42 0389986 Grip assy.
43 0327944 Plate, throttle control This part replaces 0324771.
44 0909676 Screw
45 0325101 Spring, throttle friction
46 0324602 Screw, steering handle to bracket
47 0391620 Handle,steering
48 0335426 Bushing, handle to bracket This part replaces 0324594.
49 0389581 Stop switch assy.
50 0313838 Nut, bracket to steering arm
51 0323912 Tubing
52 0391971 Helix, twist grip
53 0324684 Roller helix to cable
54 0324952 Clamp
55 0303887 Washeer, pin to swivel bracket
56 0326302 Start button, inner This part replaces 0324968.
57 0326469 Screw, anode
58 0318997 Lateral mount, lower
59 0324355 Spring, shallow water drive
60 0324583 Pin, reverse lock
61 0324586 Lever, reverse lock release
62 0324591 Spring, carrying handle
63 0394907 Carrying handle This part replaces 0324822.
64 0394907 Carrying handle This part replaces 0325204.
65 0391317 Link, shallow water drive This part replaces 0389565.
66 0434050 Tilt knob kit This part replaces 0389658.
67 0330564 Gasket, exhaust housing This part replaces 0325287.
67 0324611 Gasket, exhaust housing
68 0325293 Water tube, std
68 0325294 Water tube, long
68 0324600 Water tube, std
68 0324601 Washer tube, long
69 0324604 Retainer, water tube
70 0324610 Cover, exhaust housing
71 0308742 Screw, crankcase to cylinder
72 0324584 Spacer, reverse lock release
73 0324967 Screw
74 0303715 Washer, rivet
75 0324045 Grommer, upper, water tube
75 0323286 Grommet, water tube
76 0391685 Exhaust tube, inner This part replaces 0325286.
76 0324605 Exhaust tube , inner
77 0554545 "o" ring, small
78 0324607 Pinion, shift rod
79 0552360 Grommet, upper station control
80 0325936 Exhaust baffle
81 0202893 "o" ring, drive shaft
82 0307608 Screw

Returns Policy

All returns must be authorized. Items returned prior authorization will not be accepted.

Defective new equipment may be returned for warranty repair/exchange to us within five (5) days of the shipment receipt date.  After five (5) days, returns will be handled by direct contact and in accordance with the warranty terms of the item's manufacturer.  Items that have malfunctioned due to mishandling, electrical overload, etc., will be subject to a repair charge. 

Non-Defective new equipment will be authorized for return within five (5) days of the shipment receipt date if the equipment is still in new, re-sellable condition with the original manual(s), accessories, packing material and carton. We reserve the right to reject returns in which there is no original packaging, missing accessories, damage or visible signs of usage of the item.  A restocking fee of up to 25% of purchase price may apply.  Special orders and dangerous goods are non-returnable.

**There's a 20% Restocking Fee on All Returned Palmgren Products in Original Packaging

To get your RMA, simply call (800) 364-4637 for a return authorization number or email sales@palmerpower.com .

(Do not write anything on the manufacturer's original package or use as a shipping carton. Include all accessories, manuals and warranties.) Please include a copy of the packing list or invoice with a reason for the return. Your return authorization number is valid for thirty days.

To check the status of your return, please email us at sales@palmerpower.com. Please be sure to include your RMA number. For more information please check our FAQ page.

Shipping

We can ship to virtually any address in the world. Note that there are restrictions on some products, and some products cannot be shipped to international destinations.

When you place an order, we will estimate shipping and delivery dates for you based on the availability of your items and the shipping options you choose. Depending on the shipping provider you choose, shipping date estimates may appear on the shipping quotes page.

Please also note that the shipping rates for many items we sell are weight-based. The weight of any such item can be found on its detail page. To reflect the policies of the shipping companies we use, all weights will be rounded up to the next full pound.

Boat Services & Repairs in Houston

We will service your boat whether you bought it from us or not. Our award-winning boat service department has a full-time staff of seasoned, factory-certified technicians dedicated to ensuring that your boat runs well for years to come. Our team is trained to correctly diagnose issues, advise you of any developing problems, and address any unique service issues your boat may require. Whether you need complex engine work and repairs, canvas and upholstery, boat tune Up, electronics installation or repair, or boat detailing, our technicians will work quickly to keep you out of the shop and on the water. Not only does our service department provide the highest quality service, we also have a large parts department for the do-it-yourself types. Ask about our inventory of parts and aftermarket additions to make your own repairs or upgrades.

Learn More

boat repair service boat Sterndrive repair

Frequently Asked Questions

  • How do I request a quote?
    To request a quote for pricing on any Palmer Power's products, please see our request a quote page. Fill out and submit our quote form and one of our representatives will contact you when your quote is ready.
  • Do you have any Minimum Order Restriction?
    Palmer Power Does not have any Minimum Order Restriction.
  • Will my order be subject to sales tax?
    Estimated state sales tax will appear within your shopping cart for all shipments within the United states unless a signed official state tax exemption certificate is furnished to Palmer Power.
  • How do I check my Order Status?
    To check the status of an online order, email sales@palmerpower.com. Please be sure to include your order number.
  • How do I Return items?

    All returns must be authorized. Items returned prior authorization will not be accepted. International customers must ship any returns to us freight and duty prepaid. Return freight charges for International shipments will be the responsibility of the customer.

    Defective new equipment may be returned for warranty repair/exchange to us within five (5) days of the shipment receipt date. After five (5) days, returns will be handled by direct contact and in accordance with the warranty terms of the item's manufacturer. Items that have malfunctioned due to mishandling, electrical overload, etc., will be subject to a repair charge.

    Non-Defective new equipment will be authorized for return within five (5) days of the shipment receipt date if the equipment is still in new, re-sellable condition with the original manual(s), accessories, packing material and carton. We reserve the right to reject returns in which there is no original packaging, missing accessories, damage or visible signs of usage of the item. A restocking fee of up to 25% of purchase price may apply. Special orders and dangerous goods are non-returnable.

    (Do not write anything on the manufacturer's original package or use as a shipping carton. Include all accessories, manuals and warranties.) Please include a copy of the packing list or invoice with a reason for the return. Your return authorization number is valid for thirty days.

  • What payment options do I have?

    Palmer Power accepts a variety of payment options for your convenience. For prepayment, we accept all major credit cards (Visa, MasterCard, Discover and American Express), Purchase Orders, and international wire transfers. We also offer credit terms to existing customers.

Fast Delivery
Dealer Program
Secure Shopping
30-Day Free Returns