EVINRUDE-JOHNSON 348117 Hose, Tee To Pressure Relief | PalmerPower
close
close
click to zoom in
  • Guaranteed Fitment

    Always the correct part

  • In-House Experts

    We know our products

  • Boat Repair Service

    Diagnostics, Repairs, and Maintenance

  • Fast Delivery

EVINRUDE-JOHNSON 348117 Hose, Tee To Pressure Relief

Write a Review
$18.49
SKU:
348117
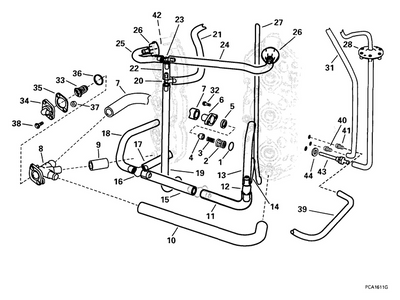
Schematic Object Key:
7

EVINRUDE-JOHNSON 348117 Hose, Tee To Pressure Relief

$18.49

Disclaimer: Please note that the items featured in the image (schematic diagram) are not sold as a bundled set. To facilitate your search, kindly refer to the schematic object key provided below in order to locate a specific item within the image.

EVINRUDE-JOHNSON 348117 Hose, Tee To Pressure Relief

Schematic Object Key : 7

Replacement: This part (348117) replaces 0346109.

Product Description: Hose, Tee To Pressure Relief

Category: EVINRUDE / 1999 / 150 / E150FCXEEO 1999 / HOSE ROUTING -- "O" SUFFIX MODELS

Disclaimer: Each item listed in the table below is available for individual purchase and is not sold as part of a package or set.

Parts List:

Key Part No. Product Name Additional_info
1 0321921 "o"ring,gearcase head
2 0346329 Sleeve, pressure relief
3 0346377 Spring, pressure relief
4 0346336 Valve, blowoff
5 0335981 Seal, t stat cylinder head to c c
6 5000833 Cap, pressure relief valve
7 0348117 Hose, tee to pressure relief This part replaces 0346109.
8 0346110 Housing, thermostat
9 0346107 Hose, head to tee, port
10 0348118 Hose, head to tee, stbd This part replaces 0346108.
11 0346113 Hose, water supply, stbd
12 0346119 Tee, water supply, port
13 0346116 Hose, tee to head, upper, stbd.
14 0346115 Hose, fitting to head, lower, port
15 0346535 Hose, water supply, port
16 0346119 Tee, water supply, port
17 0346115 Hose, fitting to head, lower, port
18 0346837 Hose, fitting to head, upper, port
19 0346533 Hose, tee to cylinder block, drain
20 0346539 Tee, thermostat ecu drain
21 0346531 Hose, ecu drain
22 0346532 Hose, tee to tee
23 0346140 Tee, thermostat drain
24 0346536 Hose, thermostat drain, stbd
25 0334132 Hose, fuel tee to pump
26 5000832 Cover nipple assy., thermostat
27 0346534 Hose, cylinder block vent
28 5005042 Diaphragm hose assy, exhaust This part replaces 5000949.
31 0346540 Hose, water supply to vapor separator
32 0308743 Screw, injector to manifold
33 0437090 Thermostat
34 0337207 Cover, thermostat
35 0337194 Gasket, thermostat cover
36 0310058 Gasket, thermostat
37 0335778 Nut, input stud
38 0909533 Screw, adapter
39 0345229 Hose, blow off valve to head, stbd
40 0173312 Nipple, water 3 8 in. i.d. This part replaces 0123200.
41 0173312 Nipple, water 3 8 in. i.d. This part replaces 0123200.
42 1
1 None
43 5001551 Fitting, exhaust pressure This part replaces 5001297.
44 0346527 Gasket, exhaust fitting

Returns Policy

All returns must be authorized. Items returned prior authorization will not be accepted.

Defective new equipment may be returned for warranty repair/exchange to us within five (5) days of the shipment receipt date.  After five (5) days, returns will be handled by direct contact and in accordance with the warranty terms of the item's manufacturer.  Items that have malfunctioned due to mishandling, electrical overload, etc., will be subject to a repair charge. 

Non-Defective new equipment will be authorized for return within five (5) days of the shipment receipt date if the equipment is still in new, re-sellable condition with the original manual(s), accessories, packing material and carton. We reserve the right to reject returns in which there is no original packaging, missing accessories, damage or visible signs of usage of the item.  A restocking fee of up to 25% of purchase price may apply.  Special orders and dangerous goods are non-returnable.

**There's a 20% Restocking Fee on All Returned Palmgren Products in Original Packaging

To get your RMA, simply call (800) 364-4637 for a return authorization number or email sales@palmerpower.com .

(Do not write anything on the manufacturer's original package or use as a shipping carton. Include all accessories, manuals and warranties.) Please include a copy of the packing list or invoice with a reason for the return. Your return authorization number is valid for thirty days.

To check the status of your return, please email us at sales@palmerpower.com. Please be sure to include your RMA number. For more information please check our FAQ page.

Shipping

We can ship to virtually any address in the world. Note that there are restrictions on some products, and some products cannot be shipped to international destinations.

When you place an order, we will estimate shipping and delivery dates for you based on the availability of your items and the shipping options you choose. Depending on the shipping provider you choose, shipping date estimates may appear on the shipping quotes page.

Please also note that the shipping rates for many items we sell are weight-based. The weight of any such item can be found on its detail page. To reflect the policies of the shipping companies we use, all weights will be rounded up to the next full pound.

Boat Services & Repairs in Houston

We will service your boat whether you bought it from us or not. Our award-winning boat service department has a full-time staff of seasoned, factory-certified technicians dedicated to ensuring that your boat runs well for years to come. Our team is trained to correctly diagnose issues, advise you of any developing problems, and address any unique service issues your boat may require. Whether you need complex engine work and repairs, canvas and upholstery, boat tune Up, electronics installation or repair, or boat detailing, our technicians will work quickly to keep you out of the shop and on the water. Not only does our service department provide the highest quality service, we also have a large parts department for the do-it-yourself types. Ask about our inventory of parts and aftermarket additions to make your own repairs or upgrades.

Learn More

boat repair service boat Sterndrive repair

Frequently Asked Questions

  • How do I request a quote?
    To request a quote for pricing on any Palmer Power's products, please see our request a quote page. Fill out and submit our quote form and one of our representatives will contact you when your quote is ready.
  • Do you have any Minimum Order Restriction?
    Palmer Power Does not have any Minimum Order Restriction.
  • Will my order be subject to sales tax?
    Estimated state sales tax will appear within your shopping cart for all shipments within the United states unless a signed official state tax exemption certificate is furnished to Palmer Power.
  • How do I check my Order Status?
    To check the status of an online order, email sales@palmerpower.com. Please be sure to include your order number.
  • How do I Return items?

    All returns must be authorized. Items returned prior authorization will not be accepted. International customers must ship any returns to us freight and duty prepaid. Return freight charges for International shipments will be the responsibility of the customer.

    Defective new equipment may be returned for warranty repair/exchange to us within five (5) days of the shipment receipt date. After five (5) days, returns will be handled by direct contact and in accordance with the warranty terms of the item's manufacturer. Items that have malfunctioned due to mishandling, electrical overload, etc., will be subject to a repair charge.

    Non-Defective new equipment will be authorized for return within five (5) days of the shipment receipt date if the equipment is still in new, re-sellable condition with the original manual(s), accessories, packing material and carton. We reserve the right to reject returns in which there is no original packaging, missing accessories, damage or visible signs of usage of the item. A restocking fee of up to 25% of purchase price may apply. Special orders and dangerous goods are non-returnable.

    (Do not write anything on the manufacturer's original package or use as a shipping carton. Include all accessories, manuals and warranties.) Please include a copy of the packing list or invoice with a reason for the return. Your return authorization number is valid for thirty days.

  • What payment options do I have?

    Palmer Power accepts a variety of payment options for your convenience. For prepayment, we accept all major credit cards (Visa, MasterCard, Discover and American Express), Purchase Orders, and international wire transfers. We also offer credit terms to existing customers.

Fast Delivery
Dealer Program
Secure Shopping
30-Day Free Returns