EVINRUDE-JOHNSON 5041706 Ball Bearing 6301 | PalmerPower
close
close
click to zoom in
  • Guaranteed Fitment

    Always the correct part

  • In-House Experts

    We know our products

  • Boat Repair Service

    Diagnostics, Repairs, and Maintenance

  • Fast Delivery

EVINRUDE-JOHNSON 5041706 Ball Bearing 6301

Write a Review
$26.49
SKU:
5041706
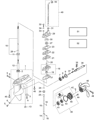
Schematic Object Key:
43

EVINRUDE-JOHNSON 5041706 Ball Bearing 6301

$26.49

Disclaimer: Please note that the items featured in the image (schematic diagram) are not sold as a bundled set. To facilitate your search, kindly refer to the schematic object key provided below in order to locate a specific item within the image.

EVINRUDE-JOHNSON 5041706 Ball Bearing 6301

Schematic Object Key : 43

Product Description: Ball Bearing 6301

Category: EVINRUDE / AB Models / 9.8 PORTABLE / B10RGL4ABA / 17-1_GEARCASE ASSEMBLY

Disclaimer: Each item listed in the table below is available for individual purchase and is not sold as part of a package or set.

Parts List:

Key Part No. Product Name Additional_info
5041902 Gearcase, complete 15 in. shaft
5041903 Gearcase, complete 20 in. shaft
5041918 Gearcase, complete 25 in. shaft
1 5041824 Gearcase housing
2 5041324 Roller bearing
3 5041704 Ball bearing 6204
4 5040029 Plug
5 5040030 Gasket 8.1 15 1
6 5041325 Trim tab
7 5041533 Bolt
8 5040316 Water strainer w 17 mark a
9 5041606 Screw
10 5041653 Nylon nut
11 5041839 Propeller shaft housing assembly graphite
12 5041840 Propeller shaft housing
13 5040061 O ring 3.2 47
14 5040143 Oil seal 15 28 10
15 5041703 Ball bearing 6004
16 5041560 Bolt
17 5040511 Bevel gear assembly a
18 5040512 Bevel gear b
19 5040513 Bevel gear c
20 5040160 Washer 15.2 19 1.9
21 5040156 Shim 21 28 0.1
21 5040156 Shim 21 28 0.1 This part replaces 5040157.
22 5041349 Propeller shaft
23 5040518 Clutch
24 5040008 Pin 3.5 28
25 5041350 Spring clutch
26 5040168 Push rod clutch
27 5040519 Spring retainer clutch
28 5040525 Water pump impeller
29 5040526 Key pump impeller
30 5040522 Pump case upper
31 5040521 Pump case liner
32 5040027 Water pipe seal lower
33 5040523 Pump case gasket
34 5040527 Water pump guide plate
35 5040528 Guide plate gasket
36 5041585 Bolt
37 5041668 Washer
38 5041356 Pump case lower
39 5040015 Oil seal 12 24 8
40 5040524 Pump case gasket lower
41 5040514 Shim 28 36.8 0.1
41 5040515 Shim 28 36.8 0.15
41 5040516 Shim 28 36.8 0.3
42 5041351 Drive shaft assembly 15 in. shaft
42 5041352 Drive shaft assembly 20 in. shaft
42 5041353 Drive shaft assembly 25 in. shaft
43 5041706 Ball bearing 6301
44 5040191 Clutch cam
45 5041691 Spring pin 3 10
46 5041363 Cam rod 15 in. shaft
46 5041364 Cam rod 20 in. shaft
46 5041365 Cam rod 25 in. shaft
47 5040196 Cam rod bushing
48 5040195 O ring a 2.5 4.9
49 5040036 O ring 2.4 15.4
50 5040197 Stopper com rod bushing
51 5041561 Bolt
52 5041442 Bolt
53 5041321 Water seal rubber
54 5041322 Water seal plate
55 5041357 Water pipe 15 in. shaft
55 5041358 Water pipe 20 in. shaft
55 5041359 Water pipe 25 in. shaft
56 5041362 Water pipe seal upper
57 5041360 Lock plate
58 5041361 Water pipe auxiliary mount 13 2.5
59 5041626 Screw el, pl, px
60 0766543 Propeller 3 blade, 8.5 in. diameter x 7 in pitch
60 0766544 Propeller assembly 3 blade, 8.5 in. diameter x 8 in pitch
60 0766545 Propeller assembly 3 blade, 8.5 in. diameter x 9 in pitch
61 5041399 Propeller hardware kit
62 5040520 Thrust holder assembly
63 5040164 Propeller nut
64 5040165 Washer 10.5 28 2
65 5041695 Split pin 3 18
NS 5040536 Lower unit gasket set
NS 5040537 Water pump repair kit
NS 5040529 Water pump kit chrome plated
NS 5041904 Extension housing kit convert 20 in to 25 in

Returns Policy

All returns must be authorized. Items returned prior authorization will not be accepted.

Defective new equipment may be returned for warranty repair/exchange to us within five (5) days of the shipment receipt date.  After five (5) days, returns will be handled by direct contact and in accordance with the warranty terms of the item's manufacturer.  Items that have malfunctioned due to mishandling, electrical overload, etc., will be subject to a repair charge. 

Non-Defective new equipment will be authorized for return within five (5) days of the shipment receipt date if the equipment is still in new, re-sellable condition with the original manual(s), accessories, packing material and carton. We reserve the right to reject returns in which there is no original packaging, missing accessories, damage or visible signs of usage of the item.  A restocking fee of up to 25% of purchase price may apply.  Special orders and dangerous goods are non-returnable.

**There's a 20% Restocking Fee on All Returned Palmgren Products in Original Packaging

To get your RMA, simply call (800) 364-4637 for a return authorization number or email sales@palmerpower.com .

(Do not write anything on the manufacturer's original package or use as a shipping carton. Include all accessories, manuals and warranties.) Please include a copy of the packing list or invoice with a reason for the return. Your return authorization number is valid for thirty days.

To check the status of your return, please email us at sales@palmerpower.com. Please be sure to include your RMA number. For more information please check our FAQ page.

Shipping

We can ship to virtually any address in the world. Note that there are restrictions on some products, and some products cannot be shipped to international destinations.

When you place an order, we will estimate shipping and delivery dates for you based on the availability of your items and the shipping options you choose. Depending on the shipping provider you choose, shipping date estimates may appear on the shipping quotes page.

Please also note that the shipping rates for many items we sell are weight-based. The weight of any such item can be found on its detail page. To reflect the policies of the shipping companies we use, all weights will be rounded up to the next full pound.

Boat Services & Repairs in Houston

We will service your boat whether you bought it from us or not. Our award-winning boat service department has a full-time staff of seasoned, factory-certified technicians dedicated to ensuring that your boat runs well for years to come. Our team is trained to correctly diagnose issues, advise you of any developing problems, and address any unique service issues your boat may require. Whether you need complex engine work and repairs, canvas and upholstery, boat tune Up, electronics installation or repair, or boat detailing, our technicians will work quickly to keep you out of the shop and on the water. Not only does our service department provide the highest quality service, we also have a large parts department for the do-it-yourself types. Ask about our inventory of parts and aftermarket additions to make your own repairs or upgrades.

Learn More

boat repair service boat Sterndrive repair

Frequently Asked Questions

  • How do I request a quote?
    To request a quote for pricing on any Palmer Power's products, please see our request a quote page. Fill out and submit our quote form and one of our representatives will contact you when your quote is ready.
  • Do you have any Minimum Order Restriction?
    Palmer Power Does not have any Minimum Order Restriction.
  • Will my order be subject to sales tax?
    Estimated state sales tax will appear within your shopping cart for all shipments within the United states unless a signed official state tax exemption certificate is furnished to Palmer Power.
  • How do I check my Order Status?
    To check the status of an online order, email sales@palmerpower.com. Please be sure to include your order number.
  • How do I Return items?

    All returns must be authorized. Items returned prior authorization will not be accepted. International customers must ship any returns to us freight and duty prepaid. Return freight charges for International shipments will be the responsibility of the customer.

    Defective new equipment may be returned for warranty repair/exchange to us within five (5) days of the shipment receipt date. After five (5) days, returns will be handled by direct contact and in accordance with the warranty terms of the item's manufacturer. Items that have malfunctioned due to mishandling, electrical overload, etc., will be subject to a repair charge.

    Non-Defective new equipment will be authorized for return within five (5) days of the shipment receipt date if the equipment is still in new, re-sellable condition with the original manual(s), accessories, packing material and carton. We reserve the right to reject returns in which there is no original packaging, missing accessories, damage or visible signs of usage of the item. A restocking fee of up to 25% of purchase price may apply. Special orders and dangerous goods are non-returnable.

    (Do not write anything on the manufacturer's original package or use as a shipping carton. Include all accessories, manuals and warranties.) Please include a copy of the packing list or invoice with a reason for the return. Your return authorization number is valid for thirty days.

  • What payment options do I have?

    Palmer Power accepts a variety of payment options for your convenience. For prepayment, we accept all major credit cards (Visa, MasterCard, Discover and American Express), Purchase Orders, and international wire transfers. We also offer credit terms to existing customers.

Fast Delivery
Dealer Program
Secure Shopping
30-Day Free Returns