Shop All - VOLVO PENTA - TAD1643VE-B - Page 2 - Palmer Power
close
close

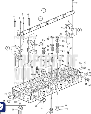
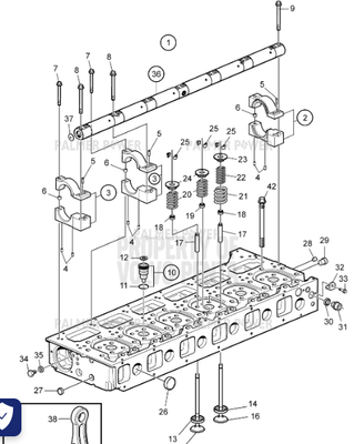
TAD1643VE-B

sidebar:
show more

Customer Reviews

Featured Brands

View all
Fast Delivery
Dealer Program
Secure Shopping
30-Day Free Returns