YANMAR 127616-11790 Joint, Return Pipe | PalmerPower
close
close
click to zoom in
  • Guaranteed Fitment

    Always the correct part

  • In-House Experts

    We know our products

  • Boat Repair Service

    Diagnostics, Repairs, and Maintenance

  • Fast Delivery

YANMAR 127616-11790 Joint, Return Pipe

Write a Review
$51.60
SKU:
127616-11790
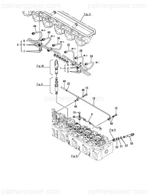
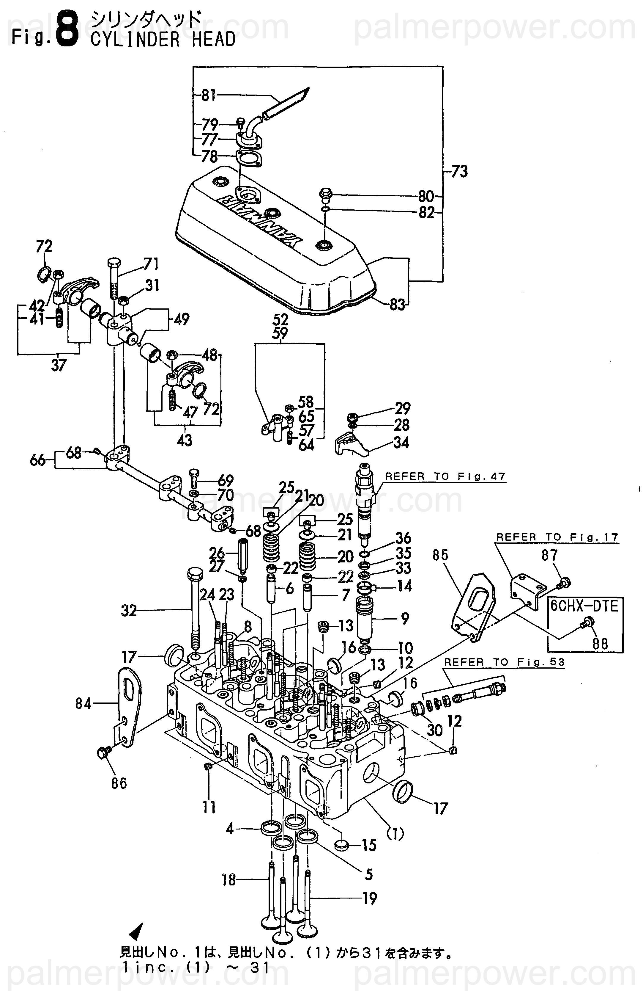
Schematic Object Key:
26

YANMAR 127616-11790 Joint, Return Pipe

$51.60

Disclaimer: Please note that the items featured in the image (schematic diagram) are not sold as a bundled set. To facilitate your search, kindly refer to the schematic object key provided below in order to locate a specific item within the image.

YANMAR 127616-11790 Joint, Return Pipe

Schematic Object Key : 26

Product Description : JOINT, PIPE 127616-11790

Disclaimer: Each item listed in the table below is available for individual purchase and is not sold as part of a package or set.

Other Components:

Ref Description Part No.
1 HEAD ASSY, CYLINDER 727616-11700
4 SEAT, INTAKE VALVE 127616-11080
5 SEAT, EXHAUST VALVE 127616-11090
6 GUIDE, VALVE 127616-11160
7 GUIDE, VALVE 127616-11170
8 GUIDE, BRIDGE 127616-11530
9 SLEEVE 127616-11850
10 GASKET 127616-11860
11 PLUG, R01 23876-010000
12 PLUG, R02 23876-020000
13 PLUG, R04 23876-040000
14 O-RING, 1AG25.0 24321-000250
15 PLUG, 25 27241-250000
16 PLUG, 28 27241-280000
17 PLUG, 40 27241-400000
18 VALVE, INTAKE 127616-11100
19 VALVE, EXHAUST 127616-11110
20 SPRING, VALVE 127616-11120
21 RETAINER, SPRING 127616-11180
22 SEAL, VALVE STEM 127616-11280
23 STUD 127616-11770
24 STUD 127616-11780
25 COTTER, 8 27310-080001
26 JOINT, PIPE 127616-11790
27 WASHER, SEAL 6 22190-080002
28 WASHER 127616-11920
29 NUT, M8 26366-080002
30 GASKET 127616-11910
31 NUT 122710-11240
32 BOLT, HEAD 127616-01200
33 INSULATOR, NOZZLE 127610-11851
34 RETAINER, NOZZLE 127616-11900
35 GASKET, NOZZLE 127610-11860
36 O-RING, 1AP18.0 24311-000180
37 ARM ASSY, ROCKER 727616-11650
41 SCREW, VALVE ADJUST 127616-11230
42 NUT 122710-11240
43 ARM ASSY, ROCKER 727616-11660
47 SCREW, VALVE ADJUST 127616-11230
48 NUT 122710-11240
49 BRACKET, ROCKER ARM 127616-11250
52 BRIDGE ASSY, VALVE 727616-11900
57 SCREW, VALVE 120320-11520
58 NUT, LOCK M8 26756-080002
59 BRIDGE ASSY, VALVE 727616-11910
64 SCREW, VALVE 120320-11520
65 NUT, LOCK M8 26756-080002
66 BRACKET 127616-11940
68 PLUG, R005 23876-005000
69 BOLT 127616-11960
70 GASKET, 8X1.0 23414-080000
71 BOLT, M12X 75 PLATED 26116-120752
72 RING, 22 22242-000220
73 BONNET ASSY, HEAD 727616-11520
77 BODY, BREATHER 127610-11320
78 GASKET, BONNET 127610-11331
79 BOLT, M6X 14 PLATED 26106-060142
80 KNOB 124160-11360
81 PIPE, 10X 750 23064-100750
82 O-RING, 1AP12.0 24311-000120
83 GASKET, BONNET 127616-11340
84 LIFTER, A 127410-07921
85 LIFTER 127695-07930
86 BOLT, M10X 18 PLATED 26106-100182
87 BOLT, M10X 28 PLATED 26106-100282

YANMAR 127616-11790 Joint, Return Pipe

Returns Policy

All returns must be authorized. Items returned prior authorization will not be accepted.

Defective new equipment may be returned for warranty repair/exchange to us within five (5) days of the shipment receipt date.  After five (5) days, returns will be handled by direct contact and in accordance with the warranty terms of the item's manufacturer.  Items that have malfunctioned due to mishandling, electrical overload, etc., will be subject to a repair charge. 

Non-Defective new equipment will be authorized for return within five (5) days of the shipment receipt date if the equipment is still in new, re-sellable condition with the original manual(s), accessories, packing material and carton. We reserve the right to reject returns in which there is no original packaging, missing accessories, damage or visible signs of usage of the item.  A restocking fee of up to 25% of purchase price may apply.  Special orders and dangerous goods are non-returnable.

**There's a 20% Restocking Fee on All Returned Palmgren Products in Original Packaging

To get your RMA, simply call (800) 364-4637 for a return authorization number or email sales@palmerpower.com .

(Do not write anything on the manufacturer's original package or use as a shipping carton. Include all accessories, manuals and warranties.) Please include a copy of the packing list or invoice with a reason for the return. Your return authorization number is valid for thirty days.

To check the status of your return, please email us at sales@palmerpower.com. Please be sure to include your RMA number. For more information please check our FAQ page.

Shipping

We can ship to virtually any address in the world. Note that there are restrictions on some products, and some products cannot be shipped to international destinations.

When you place an order, we will estimate shipping and delivery dates for you based on the availability of your items and the shipping options you choose. Depending on the shipping provider you choose, shipping date estimates may appear on the shipping quotes page.

Please also note that the shipping rates for many items we sell are weight-based. The weight of any such item can be found on its detail page. To reflect the policies of the shipping companies we use, all weights will be rounded up to the next full pound.

Boat Services & Repairs in Houston

We will service your boat whether you bought it from us or not. Our award-winning boat service department has a full-time staff of seasoned, factory-certified technicians dedicated to ensuring that your boat runs well for years to come. Our team is trained to correctly diagnose issues, advise you of any developing problems, and address any unique service issues your boat may require. Whether you need complex engine work and repairs, canvas and upholstery, boat tune Up, electronics installation or repair, or boat detailing, our technicians will work quickly to keep you out of the shop and on the water. Not only does our service department provide the highest quality service, we also have a large parts department for the do-it-yourself types. Ask about our inventory of parts and aftermarket additions to make your own repairs or upgrades.

Learn More

boat repair service boat Sterndrive repair

Frequently Asked Questions

  • How do I request a quote?
    To request a quote for pricing on any Palmer Power's products, please see our request a quote page. Fill out and submit our quote form and one of our representatives will contact you when your quote is ready.
  • Do you have any Minimum Order Restriction?
    Palmer Power Does not have any Minimum Order Restriction.
  • Will my order be subject to sales tax?
    Estimated state sales tax will appear within your shopping cart for all shipments within the United states unless a signed official state tax exemption certificate is furnished to Palmer Power.
  • How do I check my Order Status?
    To check the status of an online order, email sales@palmerpower.com. Please be sure to include your order number.
  • How do I Return items?

    All returns must be authorized. Items returned prior authorization will not be accepted. International customers must ship any returns to us freight and duty prepaid. Return freight charges for International shipments will be the responsibility of the customer.

    Defective new equipment may be returned for warranty repair/exchange to us within five (5) days of the shipment receipt date. After five (5) days, returns will be handled by direct contact and in accordance with the warranty terms of the item's manufacturer. Items that have malfunctioned due to mishandling, electrical overload, etc., will be subject to a repair charge.

    Non-Defective new equipment will be authorized for return within five (5) days of the shipment receipt date if the equipment is still in new, re-sellable condition with the original manual(s), accessories, packing material and carton. We reserve the right to reject returns in which there is no original packaging, missing accessories, damage or visible signs of usage of the item. A restocking fee of up to 25% of purchase price may apply. Special orders and dangerous goods are non-returnable.

    (Do not write anything on the manufacturer's original package or use as a shipping carton. Include all accessories, manuals and warranties.) Please include a copy of the packing list or invoice with a reason for the return. Your return authorization number is valid for thirty days.

  • What payment options do I have?

    Palmer Power accepts a variety of payment options for your convenience. For prepayment, we accept all major credit cards (Visa, MasterCard, Discover and American Express), Purchase Orders, and international wire transfers. We also offer credit terms to existing customers.

Fast Delivery
Dealer Program
Secure Shopping
30-Day Free Returns