YANMAR 148007-12620 Support - Palmer Power
close
close
click to zoom in
  • Guaranteed Fitment

    Always the correct part

  • In-House Experts

    We know our products

  • Boat Repair Service

    Diagnostics, Repairs, and Maintenance

  • Fast Delivery

YANMAR 148007-12620 Support

Write a Review
$444.40
SKU:
148007-12620
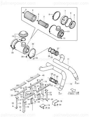
Schematic Object Key:
18

YANMAR 148007-12620 Support

$444.40

Disclaimer: Please note that the items featured in the image (schematic diagram) are not sold as a bundled set. To facilitate your search, kindly refer to the schematic object key provided below in order to locate a specific item within the image.

YANMAR 148007-12620 Support

Schematic Object Key : 18

Product Description : SUPPORT

Disclaimer: Each item listed in the table below is available for individual purchase and is not sold as part of a package or set.

Other Components:

Ref Description Part No.
1 CLEANER ASSY, AIR 126654-12510
3 ELEMENT, AIR CLEANER 126654-12620
4 ELEMENT, AIR CLEANER 126654-12630
5 NUT 126654-12640
6 BAFFLE 126654-12650
7 CUP ASSY 126654-12660
8 CLAMP ASSY 126654-12670
9 O-RING 126654-12680
10 INDICATOR 126650-12680
11 DUCT, INTAKE 148007-12530
11-1 DUCT, INTAKE 148007-12531
11-2 PIPE 148007-12532
12 DUCT, INTAKE 148007-12540
12-1 DUCT, INTAKE 148007-12541
12-2 PIPE 148007-12542
13 COVER ASSY, CLEANER 126654-12550
14 BRACKET 148007-12580
15 BRACKET 148007-12590
16 BRACKET 148007-12600
17 BOLT 148807-12610
18 SUPPORT 148007-12620
19 SUPPORT 148007-12630
20 REDUCER 148007-12640
21 SPACER 148807-12640
22 RETAINER 148007-12610
23 STAY 148007-12670
24 BRACKET 148007-12680
25 PIPE 142672-49090
25-1 PIPE (RUBBER) 133670-18330
26 CLAMP 140 23000-140000
26-1 CLIP 139,HOSE 43730-552230
27 CLAMP, 165 23000-165000
27-1 CLIP 166,HOSE 43730-552240
28 CLAMP, 191 23000-191000
29 BOLT, M10X 25 26013-100252
29-1 BOLT, M10X 22 PLATED 26106-100222
30 BOLT, M10X 30 26013-100302
30-1 BOLT, M10X 28 PLATED 26106-100282
31 BOLT, M10X 35 26013-100352
31-1 BOLT, M10X 32 PLATED 26106-100322
32 BOLT, M10X 45 26013-100452
32-1 BOLT, M10X 45 PLATED 26106-100452
33 BOLT, M10X 25 PLATED 26106-100252
34 BOLT, M12X 25 PLATED 26116-120252
35 BOLT, M12X 25 PLATED 26116-120252
36 NUT, M8 26366-080002
37 NUT, M10 26366-100002
38 INDICATOR 41611-002840
39 BAND 126654-12540
40 STAY 148007-12660

Returns Policy

All returns must be authorized. Items returned prior authorization will not be accepted.

Defective new equipment may be returned for warranty repair/exchange to us within five (5) days of the shipment receipt date.  After five (5) days, returns will be handled by direct contact and in accordance with the warranty terms of the item's manufacturer.  Items that have malfunctioned due to mishandling, electrical overload, etc., will be subject to a repair charge. 

Non-Defective new equipment will be authorized for return within five (5) days of the shipment receipt date if the equipment is still in new, re-sellable condition with the original manual(s), accessories, packing material and carton. We reserve the right to reject returns in which there is no original packaging, missing accessories, damage or visible signs of usage of the item.  A restocking fee of up to 25% of purchase price may apply.  Special orders and dangerous goods are non-returnable.

**There's a 20% Restocking Fee on All Returned Palmgren Products in Original Packaging

To get your RMA, simply call (800) 364-4637 for a return authorization number or email sales@palmerpower.com .

(Do not write anything on the manufacturer's original package or use as a shipping carton. Include all accessories, manuals and warranties.) Please include a copy of the packing list or invoice with a reason for the return. Your return authorization number is valid for thirty days.

To check the status of your return, please email us at sales@palmerpower.com. Please be sure to include your RMA number. For more information please check our FAQ page.

Shipping

We can ship to virtually any address in the world. Note that there are restrictions on some products, and some products cannot be shipped to international destinations.

When you place an order, we will estimate shipping and delivery dates for you based on the availability of your items and the shipping options you choose. Depending on the shipping provider you choose, shipping date estimates may appear on the shipping quotes page.

Please also note that the shipping rates for many items we sell are weight-based. The weight of any such item can be found on its detail page. To reflect the policies of the shipping companies we use, all weights will be rounded up to the next full pound.

Boat Services & Repairs in Houston

We will service your boat whether you bought it from us or not. Our award-winning boat service department has a full-time staff of seasoned, factory-certified technicians dedicated to ensuring that your boat runs well for years to come. Our team is trained to correctly diagnose issues, advise you of any developing problems, and address any unique service issues your boat may require. Whether you need complex engine work and repairs, canvas and upholstery, boat tune Up, electronics installation or repair, or boat detailing, our technicians will work quickly to keep you out of the shop and on the water. Not only does our service department provide the highest quality service, we also have a large parts department for the do-it-yourself types. Ask about our inventory of parts and aftermarket additions to make your own repairs or upgrades.

Learn More

boat repair service boat Sterndrive repair

Frequently Asked Questions

  • How do I request a quote?
    To request a quote for pricing on any Palmer Power's products, please see our request a quote page. Fill out and submit our quote form and one of our representatives will contact you when your quote is ready.
  • Do you have any Minimum Order Restriction?
    Palmer Power Does not have any Minimum Order Restriction.
  • Will my order be subject to sales tax?
    Estimated state sales tax will appear within your shopping cart for all shipments within the United states unless a signed official state tax exemption certificate is furnished to Palmer Power.
  • How do I check my Order Status?
    To check the status of an online order, email sales@palmerpower.com. Please be sure to include your order number.
  • How do I Return items?

    All returns must be authorized. Items returned prior authorization will not be accepted. International customers must ship any returns to us freight and duty prepaid. Return freight charges for International shipments will be the responsibility of the customer.

    Defective new equipment may be returned for warranty repair/exchange to us within five (5) days of the shipment receipt date. After five (5) days, returns will be handled by direct contact and in accordance with the warranty terms of the item's manufacturer. Items that have malfunctioned due to mishandling, electrical overload, etc., will be subject to a repair charge.

    Non-Defective new equipment will be authorized for return within five (5) days of the shipment receipt date if the equipment is still in new, re-sellable condition with the original manual(s), accessories, packing material and carton. We reserve the right to reject returns in which there is no original packaging, missing accessories, damage or visible signs of usage of the item. A restocking fee of up to 25% of purchase price may apply. Special orders and dangerous goods are non-returnable.

    (Do not write anything on the manufacturer's original package or use as a shipping carton. Include all accessories, manuals and warranties.) Please include a copy of the packing list or invoice with a reason for the return. Your return authorization number is valid for thirty days.

  • What payment options do I have?

    Palmer Power accepts a variety of payment options for your convenience. For prepayment, we accept all major credit cards (Visa, MasterCard, Discover and American Express), Purchase Orders, and international wire transfers. We also offer credit terms to existing customers.

Fast Delivery
Dealer Program
Secure Shopping
30-Day Free Returns