YANMAR 158512-61970 Bolt - Palmer Power
close
close
click to zoom in
  • Guaranteed Fitment

    Always the correct part

  • In-House Experts

    We know our products

  • Boat Repair Service

    Diagnostics, Repairs, and Maintenance

  • Fast Delivery

YANMAR 158512-61970 Bolt

Write a Review
$27.05
SKU:
158512-61970
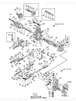
Schematic Object Key:
163

YANMAR 158512-61970 Bolt

$27.05

Disclaimer: Please note that the items featured in the image (schematic diagram) are not sold as a bundled set. To facilitate your search, kindly refer to the schematic object key provided below in order to locate a specific item within the image.

YANMAR 158512-61970 Bolt

Schematic Object Key : 163

Product Description : BOLT

Disclaimer: Each item listed in the table below is available for individual purchase and is not sold as part of a package or set.

Other Components:

Ref Description Part No.
1 GOVERNOR ASSY 758512-61100
3 SPRING, DELIVERY 129573-51330
4 PINION, CONTROL 122710-51510
5 BUSH, RACK 129155-51521
6 SCREW 122117-51560
7 RIVET 124220-51890
8 SEAL, OIL 158510-61030
9 SHAFT, GEAR 158510-61040
10 GASKET 158510-61061
11 BEARING ASSY 758510-61180
13 SHIM, T=1.50 119005-61300
14 SPRING, GOVERNOR 158512-61311
15 FORK, SPRING 158510-61320
16 LEVER, GUIDE 158512-61330
17 PIN, GUIDE LEVER 158510-61340
18 SHAFT 158510-61360
19 ADJUSTER, DROOP 158510-61370
20 SEAL, OIL 158510-61380
21 SEAL, OIL 158510-61380
22 BUSH 158510-61390
23 CONNECTOR 119005-61400
24 SHAFT, CONTROL 158510-61400
25 CONNECTOR 119005-61410
26 COLLAR 158510-61410
27 PLUG 119005-61420
28 FORK 158510-61420
29 LEVER, FLOATING 158512-61430
30 WIRE 158510-61440
31 POINTER 158510-61450
32 SPRING, SHAFT 158510-61460
33 RUBBER, SEAL 119005-61470
34 RETAINER 119005-61481
35 STOPPER, FORK 158510-61480
36 COVER 119005-61490
37 GAUGE, OIL 158510-61490
38-1 PISTON ASSY, POWER 758512-61500
41 SPRING, COMPENSATOR 158512-61550
42 SPACER 158510-61570
43 O-RING 158510-61591
44 RING, 12 22252-000120
45 PIN, SPRING 2.0X16 22351-020016
46 SEAT, SPRING 158510-61580
47 SPRING, COMPENSATOR 158512-61520
48 TUBE, CORRUGATED 158512-61580
49 SPACER 158512-61590
50 ACTUATOR 119005-61601
51 O-RING 158510-61610
52 NUT, CAP 158512-61610
53 O-RING, 1A P 7.0 158510-61620
54 PLUG 158512-61620
55 SPRING, ACTUATOR 129465-61640
56 SPACER 158512-61641
57 SHIM 158512-61650
58 SHIM 158512-61660
59 SHIM 158512-61670
60 SHIM 158512-61680
61 BASE 158512-61690
62 SENSOR 119005-61701
63 HOUSING 158512-61700
64 SENSOR 119005-61710
65 CASE, ACTUATOR 158512-61710
66 GASKET 158512-61720
67 AMPLIFIER 119005-61731
67-1 AMPLIFIER 158512-61510
70 HOLDER, SPRING 158512-61730
71 RETAINER, ACTUATOR 158512-61740
72 FLANGE 119005-61751
73 ARM, TERMINAL 158512-61750
74 SHAFT 158512-61760
75 SPRING 129465-61770
76 GASKET 158512-61770
77 SPRING 158512-61780
78 SPRING, RETURN 158512-61790
79 RACK, CONTROL 158512-61800
80 PLUG 158512-61810
81 PIN 158512-61820
82 LEVER ASSY, CHANGE 158512-61830
83 SHAFT, LEVER 158512-61840
84 LEVER 158512-61850
85 LEVER, CHANGE 158512-61860
86 PIN 158512-61870
87 FILTER 158512-61880
88 PLATE 158512-61890
89 LABEL, SHAFT L 158512-61930
90 GASKET 158512-61951
91 COVER 119005-61970
92 BUSH ASSY 158512-66010
93 BUSH, VALVE 158512-66100
94 VALVE, PILOT 158512-66200
95 VALVE ASSY, PILOT 158510-66060
96 BUSH 158510-66120
97 VALVE, PILOT 158510-66230
98 VALVE, NEEDLE 158510-66700
99 VALVE ASSY, CONTROL 158510-66801
100 BODY, VALVE 158510-66810
101 PISTON 158510-66820
102 SPRING, VALVE 158510-66831
103 PLUG, VALVE 158510-66841
104 PIN, SPRING 3.0X12 22351-030012
105 GASKET, 10X1.0 23414-100000
106 WEIGHT ASSY,GOVERNOR 158510-66910
113 BEARING, BALL 6905 158510-66460
116 WASHER, 5 22117-050000
117 WASHER, SEAL 4 22190-040003
118 WASHER, SEAL 6 22190-060002
119 WASHER, SEAL 6 22190-060002
120 WASHER, SEAL 6 22190-080002
121 WASHER, SEAL 6 22190-080002
122 WASHER, SEAL 12 22190-120000
123 WASHER, SPRING 5 22222-050000
125 PIN, TAPER 4X25 22322-040250
126 BOLT 158512-61570
127 PIN, SPRING 4.0X18 22351-040018
128 PIN, SPRING 5.0X12 22351-050012
129 PIN, COTTER 2.0X16 22417-200160
130 CLAMP, A10X6 23297-100061
131 GASKET, 6X1.0 23414-060000
132 GASKET, 8X1.0 23414-080000
133 GASKET, 12X1.0 23414-120000
134 GASKET, 18X1.0 23414-180023
135 PLUG 8 23887-080002
136 PLUG 8 23887-080002
137 PLUG, 12 23887-120002
138 BEARING, 182412 24162-182412
139 BALL, STEEL 1/4 24190-080002
140 O-RING, 1AP21.0 24311-000210
141 BOLT, M6X 22 PLATED 26106-060222
142 BOLT, M6X 22 PLATED 26106-060222
143 NUT, M8 26366-080002
144 BOLT, M4X 25 26450-040252
145 BOLT, M6X 12 26450-060122
146 BOLT, M6X 20 26450-060202
147 BOLT, M6X 25 26450-060252
148 BOLT M 6X 50 26450-060502
149 SCREW, M4X20 26557-040202
150 SCREW, M5X10 26557-050102
151 NUT, LOCK M4 26757-040002
152 SCREW 26979-050062
153 COVER ASSY 158512-67010
154 BREATHER 140673-51800
155 CASE,BREATHER 140673-51810
156 COVER, BREATHER 140673-51820
157 ELEMENT 140673-51830
158 LABEL 144626-51930
159 GASKET 140673-51840
160 BOLT, LIMITER 129155-61450
161 COVER 158512-61631
162 SCREW 158512-61960
163 BOLT 158512-61970
164 NUT, M6 124550-66370
165 NUT, CAP 119600-66840
166 WASHER, SEAL 6 22190-060002
167 GASKET, 14X1.0 23414-140018
168 BOLT, M6X 20 PLATED 26106-060202
169 BOLT, M6X 20 PLATED 26106-060202
170 BOLT, M6X 20 26450-060202
171 NUT, LOCK M6 26757-060002

Returns Policy

All returns must be authorized. Items returned prior authorization will not be accepted.

Defective new equipment may be returned for warranty repair/exchange to us within five (5) days of the shipment receipt date.  After five (5) days, returns will be handled by direct contact and in accordance with the warranty terms of the item's manufacturer.  Items that have malfunctioned due to mishandling, electrical overload, etc., will be subject to a repair charge. 

Non-Defective new equipment will be authorized for return within five (5) days of the shipment receipt date if the equipment is still in new, re-sellable condition with the original manual(s), accessories, packing material and carton. We reserve the right to reject returns in which there is no original packaging, missing accessories, damage or visible signs of usage of the item.  A restocking fee of up to 25% of purchase price may apply.  Special orders and dangerous goods are non-returnable.

**There's a 20% Restocking Fee on All Returned Palmgren Products in Original Packaging

To get your RMA, simply call (800) 364-4637 for a return authorization number or email sales@palmerpower.com .

(Do not write anything on the manufacturer's original package or use as a shipping carton. Include all accessories, manuals and warranties.) Please include a copy of the packing list or invoice with a reason for the return. Your return authorization number is valid for thirty days.

To check the status of your return, please email us at sales@palmerpower.com. Please be sure to include your RMA number. For more information please check our FAQ page.

Shipping

We can ship to virtually any address in the world. Note that there are restrictions on some products, and some products cannot be shipped to international destinations.

When you place an order, we will estimate shipping and delivery dates for you based on the availability of your items and the shipping options you choose. Depending on the shipping provider you choose, shipping date estimates may appear on the shipping quotes page.

Please also note that the shipping rates for many items we sell are weight-based. The weight of any such item can be found on its detail page. To reflect the policies of the shipping companies we use, all weights will be rounded up to the next full pound.

Boat Services & Repairs in Houston

We will service your boat whether you bought it from us or not. Our award-winning boat service department has a full-time staff of seasoned, factory-certified technicians dedicated to ensuring that your boat runs well for years to come. Our team is trained to correctly diagnose issues, advise you of any developing problems, and address any unique service issues your boat may require. Whether you need complex engine work and repairs, canvas and upholstery, boat tune Up, electronics installation or repair, or boat detailing, our technicians will work quickly to keep you out of the shop and on the water. Not only does our service department provide the highest quality service, we also have a large parts department for the do-it-yourself types. Ask about our inventory of parts and aftermarket additions to make your own repairs or upgrades.

Learn More

boat repair service boat Sterndrive repair

Frequently Asked Questions

  • How do I request a quote?
    To request a quote for pricing on any Palmer Power's products, please see our request a quote page. Fill out and submit our quote form and one of our representatives will contact you when your quote is ready.
  • Do you have any Minimum Order Restriction?
    Palmer Power Does not have any Minimum Order Restriction.
  • Will my order be subject to sales tax?
    Estimated state sales tax will appear within your shopping cart for all shipments within the United states unless a signed official state tax exemption certificate is furnished to Palmer Power.
  • How do I check my Order Status?
    To check the status of an online order, email sales@palmerpower.com. Please be sure to include your order number.
  • How do I Return items?

    All returns must be authorized. Items returned prior authorization will not be accepted. International customers must ship any returns to us freight and duty prepaid. Return freight charges for International shipments will be the responsibility of the customer.

    Defective new equipment may be returned for warranty repair/exchange to us within five (5) days of the shipment receipt date. After five (5) days, returns will be handled by direct contact and in accordance with the warranty terms of the item's manufacturer. Items that have malfunctioned due to mishandling, electrical overload, etc., will be subject to a repair charge.

    Non-Defective new equipment will be authorized for return within five (5) days of the shipment receipt date if the equipment is still in new, re-sellable condition with the original manual(s), accessories, packing material and carton. We reserve the right to reject returns in which there is no original packaging, missing accessories, damage or visible signs of usage of the item. A restocking fee of up to 25% of purchase price may apply. Special orders and dangerous goods are non-returnable.

    (Do not write anything on the manufacturer's original package or use as a shipping carton. Include all accessories, manuals and warranties.) Please include a copy of the packing list or invoice with a reason for the return. Your return authorization number is valid for thirty days.

  • What payment options do I have?

    Palmer Power accepts a variety of payment options for your convenience. For prepayment, we accept all major credit cards (Visa, MasterCard, Discover and American Express), Purchase Orders, and international wire transfers. We also offer credit terms to existing customers.

Fast Delivery
Dealer Program
Secure Shopping
30-Day Free Returns