YANMAR 15T707-89300 Nut M10 - Palmer Power
close
close
click to zoom in
  • Guaranteed Fitment

    Always the correct part

  • In-House Experts

    We know our products

  • Boat Repair Service

    Diagnostics, Repairs, and Maintenance

  • Fast Delivery

YANMAR 15T707-89300 Nut M10

Write a Review
$1.20
SKU:
15T707-89300
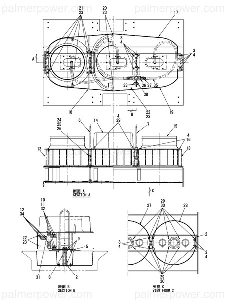
Schematic Object Key:
4A

YANMAR 15T707-89300 Nut M10

$1.20

Disclaimer: Please note that the items featured in the image (schematic diagram) are not sold as a bundled set. To facilitate your search, kindly refer to the schematic object key provided below in order to locate a specific item within the image.

YANMAR 15T707-89300 Nut M10

Schematic Object Key : 4A

Product Description : NUT M10

Disclaimer: Each item listed in the table below is available for individual purchase and is not sold as part of a package or set.

Other Components:

Ref Description Part No.
2 BASE METAL FITTINGS 15T709-51800
3 BUTTONCAP M10X40 15T709-89290
4 NUT M10 PS 15T707-80220
4A NUT M10 15T707-89300
4B SPRING ROCK WASHERS 15T707-89310
4C PLAIN WASHERS(10 15T707-89320
5 BASE METAL FITTINGS 15T709-51820
6 PROP(LEFT 15T709-51830
7 PROP(RIGHT 15T709-51380
8 BOLT M16X250 15T709-89420
9 NUT M16 15T709-89360
10 PLAIN WASHERS(10 15T707-89320
11 SPRING ROCK WASHERS 15T707-89310
12 NUT M6 15T707-89420
13 PROP(SIDE 15T709-51900
14 PROPELLER DUCT CAM2 15T709-31010
15 PROPELLER DUCT CAM1 15T709-31020
16 BOLT M10X35 15T707-89290
17 PREVENTION HEDGE 15T709-51930
18 ROLLING PREVENTION 15T709-51940
19 PREVENTION HEDGE 15T709-51950
20 BOLT M8X30 15T709-89440
21 BOLT M8X25 15T707-89270
22 BOLT M8X20 15T707-89260
23 NUT M8 S 15T707-80230
23A SPRING ROCK WASHERS 15T707-89100
23B NUT M8 15T707-89340
24 ZINC, NUT30X40 27200-300400
25 GASKET 123210-09310
26 NUT ASSY M8 15T707-80310
26A SPRING ROCK WASHERS 15T707-89100
26B NUT M8 15T707-89340
26C PLAIN WASHERS(8 15T707-89620
27 PROTECTION RUB 15T709-51910
28 PROTECTION RUB 15T709-51920
29 BOLT M6X8 15T709-89260
30 PLAIN WASHERS(6 15T707-89240
31 CLEANINGWATER PIPING 15T709-51390
32 BOLT M10X25 15T709-89240
33 FIXING BRACKET A 15T709-51430
34 BOLT M6X20 S 15T707-80160
34A SPRING ROCK WASHERS 15T707-89180
34B BOLT M6X20 15T707-89230
35 HIGH-PRESSURE HOSE 15T709-52390
36 REDUCING BUSH 15T709-52380
37 COUPLING (HOSE)19A 15T707-52660
38 FIXING BRACKET A 15T709-51500
39 BOLT M10X40 15T709-89460

Returns Policy

All returns must be authorized. Items returned prior authorization will not be accepted.

Defective new equipment may be returned for warranty repair/exchange to us within five (5) days of the shipment receipt date.  After five (5) days, returns will be handled by direct contact and in accordance with the warranty terms of the item's manufacturer.  Items that have malfunctioned due to mishandling, electrical overload, etc., will be subject to a repair charge. 

Non-Defective new equipment will be authorized for return within five (5) days of the shipment receipt date if the equipment is still in new, re-sellable condition with the original manual(s), accessories, packing material and carton. We reserve the right to reject returns in which there is no original packaging, missing accessories, damage or visible signs of usage of the item.  A restocking fee of up to 25% of purchase price may apply.  Special orders and dangerous goods are non-returnable.

**There's a 20% Restocking Fee on All Returned Palmgren Products in Original Packaging

To get your RMA, simply call (800) 364-4637 for a return authorization number or email sales@palmerpower.com .

(Do not write anything on the manufacturer's original package or use as a shipping carton. Include all accessories, manuals and warranties.) Please include a copy of the packing list or invoice with a reason for the return. Your return authorization number is valid for thirty days.

To check the status of your return, please email us at sales@palmerpower.com. Please be sure to include your RMA number. For more information please check our FAQ page.

Shipping

We can ship to virtually any address in the world. Note that there are restrictions on some products, and some products cannot be shipped to international destinations.

When you place an order, we will estimate shipping and delivery dates for you based on the availability of your items and the shipping options you choose. Depending on the shipping provider you choose, shipping date estimates may appear on the shipping quotes page.

Please also note that the shipping rates for many items we sell are weight-based. The weight of any such item can be found on its detail page. To reflect the policies of the shipping companies we use, all weights will be rounded up to the next full pound.

Boat Services & Repairs in Houston

We will service your boat whether you bought it from us or not. Our award-winning boat service department has a full-time staff of seasoned, factory-certified technicians dedicated to ensuring that your boat runs well for years to come. Our team is trained to correctly diagnose issues, advise you of any developing problems, and address any unique service issues your boat may require. Whether you need complex engine work and repairs, canvas and upholstery, boat tune Up, electronics installation or repair, or boat detailing, our technicians will work quickly to keep you out of the shop and on the water. Not only does our service department provide the highest quality service, we also have a large parts department for the do-it-yourself types. Ask about our inventory of parts and aftermarket additions to make your own repairs or upgrades.

Learn More

boat repair service boat Sterndrive repair

Frequently Asked Questions

  • How do I request a quote?
    To request a quote for pricing on any Palmer Power's products, please see our request a quote page. Fill out and submit our quote form and one of our representatives will contact you when your quote is ready.
  • Do you have any Minimum Order Restriction?
    Palmer Power Does not have any Minimum Order Restriction.
  • Will my order be subject to sales tax?
    Estimated state sales tax will appear within your shopping cart for all shipments within the United states unless a signed official state tax exemption certificate is furnished to Palmer Power.
  • How do I check my Order Status?
    To check the status of an online order, email sales@palmerpower.com. Please be sure to include your order number.
  • How do I Return items?

    All returns must be authorized. Items returned prior authorization will not be accepted. International customers must ship any returns to us freight and duty prepaid. Return freight charges for International shipments will be the responsibility of the customer.

    Defective new equipment may be returned for warranty repair/exchange to us within five (5) days of the shipment receipt date. After five (5) days, returns will be handled by direct contact and in accordance with the warranty terms of the item's manufacturer. Items that have malfunctioned due to mishandling, electrical overload, etc., will be subject to a repair charge.

    Non-Defective new equipment will be authorized for return within five (5) days of the shipment receipt date if the equipment is still in new, re-sellable condition with the original manual(s), accessories, packing material and carton. We reserve the right to reject returns in which there is no original packaging, missing accessories, damage or visible signs of usage of the item. A restocking fee of up to 25% of purchase price may apply. Special orders and dangerous goods are non-returnable.

    (Do not write anything on the manufacturer's original package or use as a shipping carton. Include all accessories, manuals and warranties.) Please include a copy of the packing list or invoice with a reason for the return. Your return authorization number is valid for thirty days.

  • What payment options do I have?

    Palmer Power accepts a variety of payment options for your convenience. For prepayment, we accept all major credit cards (Visa, MasterCard, Discover and American Express), Purchase Orders, and international wire transfers. We also offer credit terms to existing customers.

Fast Delivery
Dealer Program
Secure Shopping
30-Day Free Returns