YANMAR 24101-062040 Bearing, Ball 6204C3 | PalmerPower
close
close
click to zoom in
  • Guaranteed Fitment

    Always the correct part

  • In-House Experts

    We know our products

  • Boat Repair Service

    Diagnostics, Repairs, and Maintenance

  • Fast Delivery

YANMAR 24101-062040 Bearing, Ball 6204C3

Write a Review
$11.04
SKU:
24101-062040
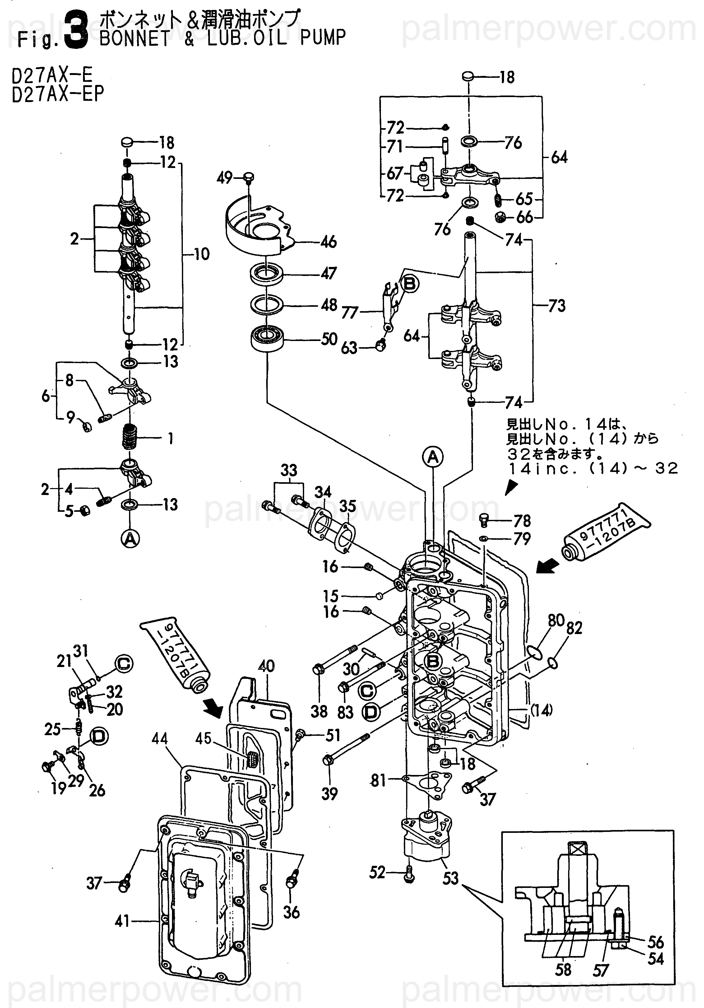
Schematic Object Key:
50

YANMAR 24101-062040 Bearing, Ball 6204C3

$11.04

Disclaimer: Please note that the items featured in the image (schematic diagram) are not sold as a bundled set. To facilitate your search, kindly refer to the schematic object key provided below in order to locate a specific item within the image.

YANMAR 24101-062040 Bearing, Ball 6204C3

Schematic Object Key : 50

Product Description : BEARING, BALL 6204C3 24101-062040

Disclaimer: Each item listed in the table below is available for individual purchase and is not sold as part of a package or set.

Other Components:

Ref Description Part No.
1 SPRING 120270-11350
2 ARM ASSY, ROCKER A 120270-11650
4 SCREW, VALVE ADJUST 120380-11230
5 NUT, M8 120270-11240
6 ARM ASSY, ROCKER B 120270-11660
8 SCREW, VALVE ADJUST 120380-11230
9 NUT, M8 120270-11240
10 SHAFT ASSY, ROCKER 120370-11800
12 PLUG 120270-11700
13 SPACER 120270-11450
14 BONNET ASSY, HEAD 720270-11530
15 PLUG, 10 120270-01820
16 PLUG, PT1/8 124060-01050
18 COVER 120270-11610
19 BOLT, M6X12 120270-02600
20 SCREW 120270-03650
21 SHAFT ASSY 120270-03753
25 SPRING, RETURN 120270-03861
26 STOPPER ASSY 120270-03911
29 STOPPER 120270-03980
30 PIN, PARALLEL M3X18 22312-030180
31 O-RING, 1AP7.0 24311-000070
32 NUT, LOCK M5 26756-050002
33 BOLT, M6X20 120270-02660
34 COVER 120270-03700
35 GASKET 120270-03710
36 BOLT, M6X 40 PLATED 26106-060402
37 BOLT, M6X20 120270-02660
38 BOLT, M6X80 120270-02680
39 BOLT, M6X85 120270-02860
40 PLATE, BAFFLE 120370-03152
41 COVER ASSY, BONNET 120370-11410
44 GASKET 120370-11332
45 FILTER, BREATHER 120270-03060
46 COVER 120270-11601
47 SEAL, OIL 120270-11710
48 SPACER 120270-14140
49 BOLT, M6X10 120270-77850
50 BEARING, BALL 6204C3 24101-062040
51 SCREW, TAPPING M6X12 26476-060122
52 BOLT, M6X20 120270-02660
53 PUMP ASSY, LO 120270-32011
54 BOLT, M6X16 120270-02610
56 COVER 120270-32080
57 O-RING 120270-32090
58 ROTOR ASSY 120270-32200
63 BOLT, M6X 12 PLATED 26106-060122
64 ARM, ROCKER 120270-54090
65 SCREW, VALVE ADJUST 120380-11230
66 NUT, M8 120270-11240
67 ROLLER ASSY 711100-51540
71 PIN, ROLLER 120270-54120
72 CIRCLIP, C 7-S 120270-54130
73 SHAFT ASSY, ROCKER 120370-54140
74 PLUG 120270-11700
76 SPACER 120270-54160
77 SUPPORT, ROCKER ARM 120270-54210
78 BOLT, M6X10 120270-77850
79 SEAL WASHER 6S 43400-500390
79-1 WASHER, SEAL 6 22190-060002
80 O-RING 120270-11400
81 GASKET, PUMP 120270-32031
82 O-RING, 1AP12.0 24311-000120
82-1 O-RING, 1AP14.0 24311-000140
83 BOLT, M8X 85 PLATED 26106-080852

YANMAR 24101-062040 Bearing, Ball 6204C3

Returns Policy

All returns must be authorized. Items returned prior authorization will not be accepted.

Defective new equipment may be returned for warranty repair/exchange to us within five (5) days of the shipment receipt date.  After five (5) days, returns will be handled by direct contact and in accordance with the warranty terms of the item's manufacturer.  Items that have malfunctioned due to mishandling, electrical overload, etc., will be subject to a repair charge. 

Non-Defective new equipment will be authorized for return within five (5) days of the shipment receipt date if the equipment is still in new, re-sellable condition with the original manual(s), accessories, packing material and carton. We reserve the right to reject returns in which there is no original packaging, missing accessories, damage or visible signs of usage of the item.  A restocking fee of up to 25% of purchase price may apply.  Special orders and dangerous goods are non-returnable.

**There's a 20% Restocking Fee on All Returned Palmgren Products in Original Packaging

To get your RMA, simply call (800) 364-4637 for a return authorization number or email sales@palmerpower.com .

(Do not write anything on the manufacturer's original package or use as a shipping carton. Include all accessories, manuals and warranties.) Please include a copy of the packing list or invoice with a reason for the return. Your return authorization number is valid for thirty days.

To check the status of your return, please email us at sales@palmerpower.com. Please be sure to include your RMA number. For more information please check our FAQ page.

Shipping

We can ship to virtually any address in the world. Note that there are restrictions on some products, and some products cannot be shipped to international destinations.

When you place an order, we will estimate shipping and delivery dates for you based on the availability of your items and the shipping options you choose. Depending on the shipping provider you choose, shipping date estimates may appear on the shipping quotes page.

Please also note that the shipping rates for many items we sell are weight-based. The weight of any such item can be found on its detail page. To reflect the policies of the shipping companies we use, all weights will be rounded up to the next full pound.

Boat Services & Repairs in Houston

We will service your boat whether you bought it from us or not. Our award-winning boat service department has a full-time staff of seasoned, factory-certified technicians dedicated to ensuring that your boat runs well for years to come. Our team is trained to correctly diagnose issues, advise you of any developing problems, and address any unique service issues your boat may require. Whether you need complex engine work and repairs, canvas and upholstery, boat tune Up, electronics installation or repair, or boat detailing, our technicians will work quickly to keep you out of the shop and on the water. Not only does our service department provide the highest quality service, we also have a large parts department for the do-it-yourself types. Ask about our inventory of parts and aftermarket additions to make your own repairs or upgrades.

Learn More

boat repair service boat Sterndrive repair

Frequently Asked Questions

  • How do I request a quote?
    To request a quote for pricing on any Palmer Power's products, please see our request a quote page. Fill out and submit our quote form and one of our representatives will contact you when your quote is ready.
  • Do you have any Minimum Order Restriction?
    Palmer Power Does not have any Minimum Order Restriction.
  • Will my order be subject to sales tax?
    Estimated state sales tax will appear within your shopping cart for all shipments within the United states unless a signed official state tax exemption certificate is furnished to Palmer Power.
  • How do I check my Order Status?
    To check the status of an online order, email sales@palmerpower.com. Please be sure to include your order number.
  • How do I Return items?

    All returns must be authorized. Items returned prior authorization will not be accepted. International customers must ship any returns to us freight and duty prepaid. Return freight charges for International shipments will be the responsibility of the customer.

    Defective new equipment may be returned for warranty repair/exchange to us within five (5) days of the shipment receipt date. After five (5) days, returns will be handled by direct contact and in accordance with the warranty terms of the item's manufacturer. Items that have malfunctioned due to mishandling, electrical overload, etc., will be subject to a repair charge.

    Non-Defective new equipment will be authorized for return within five (5) days of the shipment receipt date if the equipment is still in new, re-sellable condition with the original manual(s), accessories, packing material and carton. We reserve the right to reject returns in which there is no original packaging, missing accessories, damage or visible signs of usage of the item. A restocking fee of up to 25% of purchase price may apply. Special orders and dangerous goods are non-returnable.

    (Do not write anything on the manufacturer's original package or use as a shipping carton. Include all accessories, manuals and warranties.) Please include a copy of the packing list or invoice with a reason for the return. Your return authorization number is valid for thirty days.

  • What payment options do I have?

    Palmer Power accepts a variety of payment options for your convenience. For prepayment, we accept all major credit cards (Visa, MasterCard, Discover and American Express), Purchase Orders, and international wire transfers. We also offer credit terms to existing customers.

Fast Delivery
Dealer Program
Secure Shopping
30-Day Free Returns