EVINRUDE-JOHNSON 322757 Valve,Throttle | PalmerPower
close
close
click to zoom in
  • Guaranteed Fitment

    Always the correct part

  • In-House Experts

    We know our products

  • Boat Repair Service

    Diagnostics, Repairs, and Maintenance

  • Fast Delivery

EVINRUDE-JOHNSON 322757 Valve,Throttle

Write a Review
$8.35
SKU:
322757
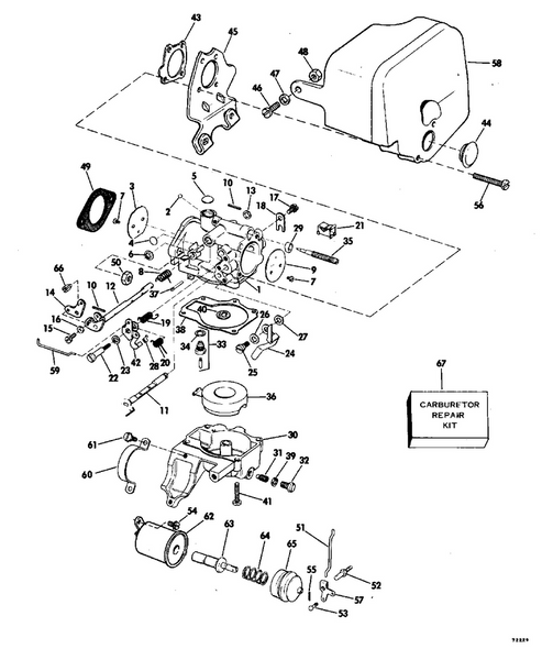
Schematic Object Key:
3

EVINRUDE-JOHNSON 322757 Valve,Throttle

$8.35

Disclaimer: Please note that the items featured in the image (schematic diagram) are not sold as a bundled set. To facilitate your search, kindly refer to the schematic object key provided below in order to locate a specific item within the image.

EVINRUDE-JOHNSON 322757 Valve,Throttle

Schematic Object Key : 3

Product Description: Valve,Throttle

Category: EVINRUDE / 1977 / 35 / 35752C 1977 / CARBURETOR

Disclaimer: Each item listed in the table below is available for individual purchase and is not sold as part of a package or set.

Parts List:

Key Part No. Product Name Additional_info
0388544 0388544 Carburetor assy.
0388506 0388506 Carburetor assy.
1 0388545 Body assembly
1 0387924 Body assembly
2 0304201 Lead shot
3 0322757 Valve,throttle
4 0307542 Core plug
5 0202310 Core plug
6 0313973 Nut, push
7 0312852 . screw, throt. choke valve
8 0313357 . spring, throttle
9 0322182 Choke valve
10 0303261 Roll pin, return spring
11 0387814 Choke shaft arm
12 0386854 Throttle shaft
13 0307596 . washer, throttle shaft
14 0320287 Adjustment lever
15 0510278 Screw
16 0300803 . washer, screw
17 0311516 .screw, clip
18 0314906 Clip
19 0315239 Spring, choke return
20 0318445 Spring, choke override
21 0204490 Detent choke, ling
22 0309720 Screw, cam follower
23 0323693 Washer, bellcrank screw This part replaces 0553645.
24 0315236 Lever choke
25 0307382 . shoulder screw
26 0315074 . bow washer
27 0328739 Rondelle entre ancrage et support This part replaces 0313396.
28 0318536 Sleeve
29 0315232 Retainer , needle valve stbd
30 0388278 Float chamber
31 0319831 Orifice, high speed, 59d 150
31 0320921 Orifice plug, no. 55d
32 0307832 Plug, screw
33 0396521 Float valve seat assy This part replaces 0378895.
34 0301996 Gasket
35 0387701 Needle valve assy.,slow speed
36 0382363 Float arm assembly
37 0302661 Hinge pin, float
38 0338880 Gasket, float bowl This part replaces 0316331.
39 0303630 Washer
40 0343512 Gasket, nozzle This part replaces 0316332.
41 0310302 Screw pump assy
41 0307175 ,,screw ,housing
42 0318444 Bellcrank, choke
43 0323338 Gasket, carb to silencer
44 0316074 Bouchon, couvercle de volant moteur
45 0323339 Bracket, support
46 0309483 Screw, terminal block rectifier
47 0306413 Washer
48 0307999 Nut
49 0325092 Gasket This part replaces 0314477.
50 0316355 But, carburetor mounting
51 0315322 Link
52 0303739 Pivot pin
53 0382778 Pin, solenoid
54 0510193 . screw, clamp cover
55 0305650 Cotter pin
56 0322784 Screw, silencer to carb
57 0303747 Lever
58 0388916 Air silencer
59 0318439 Link, throttle lever to choke bellcrank
60 0328907 Clamp, primer solenoid mtg. This part replaces 0303740.
61 0329594 Screw, cam follower This part replaces 0303737.
62 0385554 Solenoid
63 0377890 Plunger solenoid
64 0320783 Spring, plunger
65 0303792 Cover, solenoid
66 0313329 Lockwasher, carburetor link
67 0396701 Carburetor repair kit This part replaces 0387856.

Returns Policy

All returns must be authorized. Items returned prior authorization will not be accepted.

Defective new equipment may be returned for warranty repair/exchange to us within five (5) days of the shipment receipt date.  After five (5) days, returns will be handled by direct contact and in accordance with the warranty terms of the item's manufacturer.  Items that have malfunctioned due to mishandling, electrical overload, etc., will be subject to a repair charge. 

Non-Defective new equipment will be authorized for return within five (5) days of the shipment receipt date if the equipment is still in new, re-sellable condition with the original manual(s), accessories, packing material and carton. We reserve the right to reject returns in which there is no original packaging, missing accessories, damage or visible signs of usage of the item.  A restocking fee of up to 25% of purchase price may apply.  Special orders and dangerous goods are non-returnable.

**There's a 20% Restocking Fee on All Returned Palmgren Products in Original Packaging

To get your RMA, simply call (800) 364-4637 for a return authorization number or email sales@palmerpower.com .

(Do not write anything on the manufacturer's original package or use as a shipping carton. Include all accessories, manuals and warranties.) Please include a copy of the packing list or invoice with a reason for the return. Your return authorization number is valid for thirty days.

To check the status of your return, please email us at sales@palmerpower.com. Please be sure to include your RMA number. For more information please check our FAQ page.

Shipping

We can ship to virtually any address in the world. Note that there are restrictions on some products, and some products cannot be shipped to international destinations.

When you place an order, we will estimate shipping and delivery dates for you based on the availability of your items and the shipping options you choose. Depending on the shipping provider you choose, shipping date estimates may appear on the shipping quotes page.

Please also note that the shipping rates for many items we sell are weight-based. The weight of any such item can be found on its detail page. To reflect the policies of the shipping companies we use, all weights will be rounded up to the next full pound.

Boat Services & Repairs in Houston

We will service your boat whether you bought it from us or not. Our award-winning boat service department has a full-time staff of seasoned, factory-certified technicians dedicated to ensuring that your boat runs well for years to come. Our team is trained to correctly diagnose issues, advise you of any developing problems, and address any unique service issues your boat may require. Whether you need complex engine work and repairs, canvas and upholstery, boat tune Up, electronics installation or repair, or boat detailing, our technicians will work quickly to keep you out of the shop and on the water. Not only does our service department provide the highest quality service, we also have a large parts department for the do-it-yourself types. Ask about our inventory of parts and aftermarket additions to make your own repairs or upgrades.

Learn More

boat repair service boat Sterndrive repair

Frequently Asked Questions

  • How do I request a quote?
    To request a quote for pricing on any Palmer Power's products, please see our request a quote page. Fill out and submit our quote form and one of our representatives will contact you when your quote is ready.
  • Do you have any Minimum Order Restriction?
    Palmer Power Does not have any Minimum Order Restriction.
  • Will my order be subject to sales tax?
    Estimated state sales tax will appear within your shopping cart for all shipments within the United states unless a signed official state tax exemption certificate is furnished to Palmer Power.
  • How do I check my Order Status?
    To check the status of an online order, email sales@palmerpower.com. Please be sure to include your order number.
  • How do I Return items?

    All returns must be authorized. Items returned prior authorization will not be accepted. International customers must ship any returns to us freight and duty prepaid. Return freight charges for International shipments will be the responsibility of the customer.

    Defective new equipment may be returned for warranty repair/exchange to us within five (5) days of the shipment receipt date. After five (5) days, returns will be handled by direct contact and in accordance with the warranty terms of the item's manufacturer. Items that have malfunctioned due to mishandling, electrical overload, etc., will be subject to a repair charge.

    Non-Defective new equipment will be authorized for return within five (5) days of the shipment receipt date if the equipment is still in new, re-sellable condition with the original manual(s), accessories, packing material and carton. We reserve the right to reject returns in which there is no original packaging, missing accessories, damage or visible signs of usage of the item. A restocking fee of up to 25% of purchase price may apply. Special orders and dangerous goods are non-returnable.

    (Do not write anything on the manufacturer's original package or use as a shipping carton. Include all accessories, manuals and warranties.) Please include a copy of the packing list or invoice with a reason for the return. Your return authorization number is valid for thirty days.

  • What payment options do I have?

    Palmer Power accepts a variety of payment options for your convenience. For prepayment, we accept all major credit cards (Visa, MasterCard, Discover and American Express), Purchase Orders, and international wire transfers. We also offer credit terms to existing customers.

Fast Delivery
Dealer Program
Secure Shopping
30-Day Free Returns